Home
Land Pride
Brush Cutter
RC5015
Page 166 (Rcm5015 & Rcm6015 Series (1000 Rpm))
Land Pride RC5015 - Rcm5015 & Rcm6015 Series (1000 Rpm); Section 2: Decks; Blade Carrier
342 pages
Manual
Save Page as PDF
To Next Page
To Next Page
To Previous Page
To Previous Page
Loading...
16969
166
RC5015, RCM5015, RC6015 & RCM6015 Rotary Cutters 318-047P
08/31/11
T
able of Contents
P
ar
t Number Index
Land Pride
Section 2:
Decks
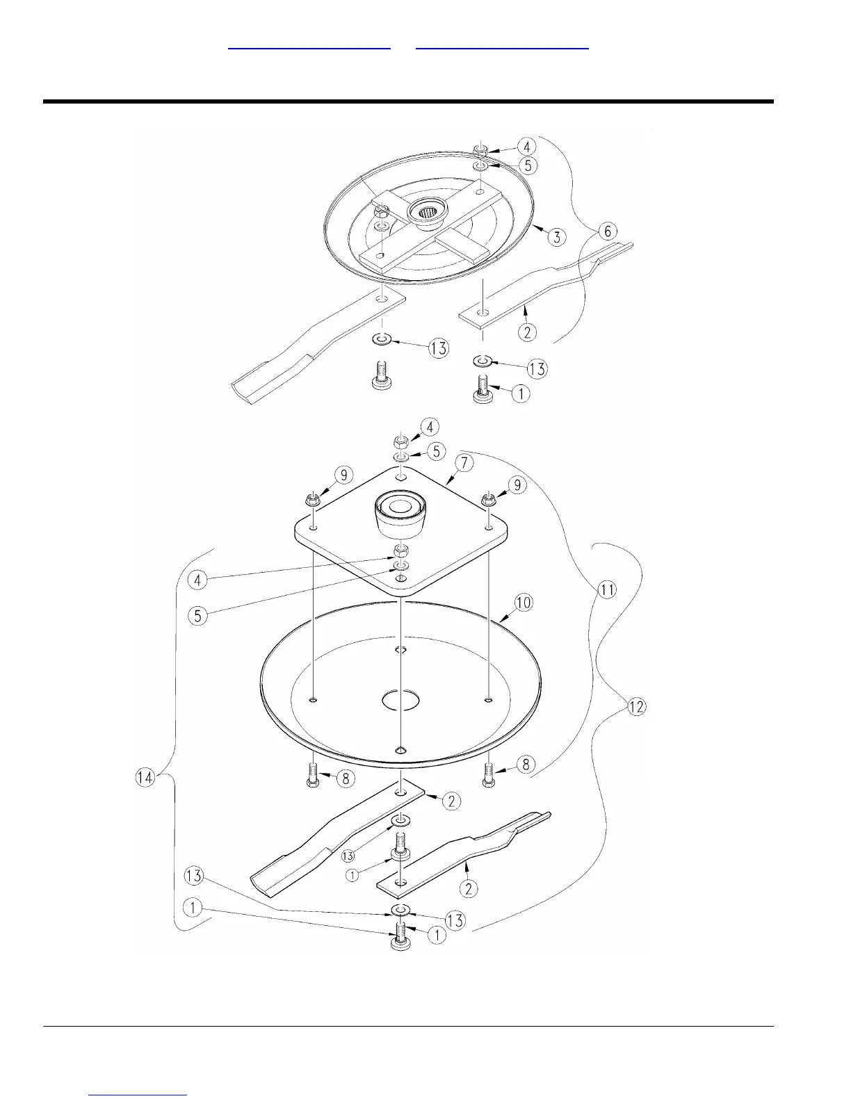
RCM5015 & RCM6015 SERIES (1000 RPM)
Blade Carrier
Applies to RCM5015,
RCM6015
165
167
Table of Contents
Main Page
Section 1: Introduction
8
Using this Manual
8
Manual Replacement Information
8
Manual Revisions
8
Touch-Up Paint
8
Hardware Legend
9
Replacement Hardware
9
Serial Numbers
9
Part Number Service Coding
9
Rc5015 & Rc6015 Series (540 Rpm)
10
Section 2: Decks
10
Blade Carrier
10
Deck Center Section (540 RPM) (RC50 Series Only S/N 217473-)
12
Deck Center Section (540 RPM) (S/N 217474+)
14
Deck Wing Section (540 RPM)
18
Hitch
22
Wing Turnbuckle and Transport Bar
24
Section 3: Axles
26
Axle Center Dual (S/N 489025-)
26
Axle Center Dual (S/N 489026+)
28
Axle Center Single (S/N 489025-)
30
Axle Tandem Center Deck (S/N 419602 to 489025)
32
Axle Tandem Center Deck (S/N 489026+)
34
Axle Wing (S/N 489025-)
36
Axle Wing (S/N 489026+)
38
Section 4: Guards
40
Guards Center Deck (S/N 292791-)
40
Guards Center Deck (S/N 292792 to 419601)
42
Guards Center Deck (S/N 419602+)
44
Guards Center Deck Double Chains (S/N 292791-)
46
Guards Center Deck Double Chains (S/N 292792 to 419601)
48
Guards Center Deck Double Chains (S/N 419602+)
50
Guards Wing Deck (S/N 292791-)
52
Guards Wing Deck (S/N 292792+)
54
Section 5: Drivelines
56
Driveline Center (826-478C) Comer (S/N 461935 to 461937, 468573+)
56
Driveline Center 540 RPM (826-183C) Eurocardan
58
Driveline Center 540 RPM (826-260C) Walterscheid (S/N 461934-)
60
Driveline Conv. 540 RPM (826-112C) Walterscheid (S/N 214515+)
62
Driveline Conv. 540 RPM (826-188C) EC New Shields
64
Driveline Conv. 540 RPM (826-188C) EC Old Shields
66
Driveline CV 540 RPM (826-117C) Walterscheid (S/N 214515 to 336516 & 388671 to 468557)
68
Driveline CV 540 RPM (826-181C) EC New Shields
70
Driveline CV 540 RPM (826-181C) EC Old Shields
72
Driveline CV 540 RPM (826-336C) Walterscheid (S/N 336516 to 388670)
74
Driveline CV 540 RPM (826-476C) Comer (S/N 468558 to 547835)
76
Driveline CV 540 RPM (826-643C) Weasler
78
Driveline CV Joint (540 RPM) (7106622) Eurocardan
80
Driveline CV Joint (540 RPM) (7600602) Eurocardan
82
Driveline Slip Clutch (146.264.024.1) Comer
84
Driveline Slip Clutch (146.284.020.1) Comer
86
Driveline Slip Clutch (383805) Walterscheid
88
Driveline Slip Clutch 540 RPM (391708) Walterscheid
90
Driveline Slip Clutch 540/1000 RPM (1446016) EC
92
Driveline Wing (826-185C) EC New Shielding
94
Driveline Wing (826-185C) EC Old Shielding
96
Driveline Wing (826-262C) Walterscheid (S/N 461934-)
98
Driveline Wing (826-481C) Comer (S/N 461935 to 461937, 468573+)
100
Section 6: Gearboxes
102
Gearbox 540 RPM RC5015 (826-174C) RC6015 (826-231C) OMNI
102
Gearbox 540 RPM RC5015 (826-175C) RC6015 (826-232C) OMNI
104
Gearbox 540 RPM RC5015 (826-315C) RC6015 (826-320C) Comer
106
Gearbox 540 RPM RC5015 (826-315C) RC6015 (826-320C) Eurocardan
108
Gearbox 540 RPM RC5015 (826-316C) RC6015 (826-321C Comer
110
Gearbox 540 RPM RC5015 (826-316C) RC6015 (826-321C) Eurocardan
112
Gearbox Divider 540 RPM (826-179C) Comer
114
Gearbox Divider 540 RPM (826-179C) OMNI
116
Section 7: Hydraulics
118
Hydraulic Center Lift
118
Hydraulic Cylinder (810-150C) Red Lion
120
Hydraulic Cylinder (810-162C) Red Lion
122
Hydraulic Cylinder (810-312C) Red Lion)
124
Hydraulic Cylinder (810-624C) Midway
126
Hydraulic Cylinder (810-624C) Red Lion
128
Hydraulic Cylinder Center (810-195C) Midway
130
Hydraulic Cylinder Center Lift (810-162C) Cross
132
Hydraulic Cylinder Center Lift (810-162C) Midway
134
Hydraulic Cylinder Wing (810-150C) Cross
136
Hydraulic Cylinder Wing (810-150C) Midway
138
Hydraulic Cylinder Wing (810-312C) Cross
140
Hydraulic Cylinder Wing (810-312C) Midway
142
Hydraulic Independent Wing Control Accessory
144
Hydraulic Valve Selector Assessory
146
Hydraulic Valve Spool Control Accessory
148
Hydraulic Wing Lift
150
Maunal Winch Wing Deck Accessory
152
Section 8: Labels
154
Label Placement
154
Section 9: Options & Accessories
157
Baffle Shreader Kit
158
Section 9: Options & Accessories
158
Shredder Kit Comer (S/N 235492+)
160
Shredder Kit Omni (S/N 235491-)
162
Shredder Kit Omni (S/N 235491-)
164
Rcm5015 & Rcm6015 Series (1000 Rpm)
166
Section 2: Decks
166
Blade Carrier
166
Deck Center Section (1000 RPM) (RCM50 Series Only S/N 217473-)
168
Deck Center Section (1000 RPM) (S/N 217474+)
170
Deck Wing Section (1000 RPM)
174
Hitch
178
Wing Turnbuckle and Transport Bar
180
Rpm)
182
Section 3: Axles
182
Axle Center Dual (S/N 489025-)
182
Axle Center Dual (S/N 489026+)
184
Axle Center Single (S/N 489025-)
186
Axle Tandem Center Deck (S/N 419602 to 489025)
188
Axle Tandem Center Deck (S/N 489026+)
190
Axle Wing (S/N 489025-)
192
Axle Wing (S/N 489026+)
194
Section 4: Guards
196
Guards Center Deck (S/N 292791-)
196
Guards Center Deck (S/N 292792 to 419601)
198
Guards Center Deck (S/N 419602+)
200
Guards Center Deck Double Chains (S/N 292791-)
202
Guards Center Deck Double Chains (S/N 292792 to 419601)
204
Guards Center Deck Double Chains (S/N 419602+)
206
Guards Wing Deck (S/N 292791-)
208
Guards Wing Deck (S/N 292792+)
210
Section 5: Drivelines
212
Driveline Center (826-478C) Comer (S/N 461935 to 461937, 468573+)
212
Driveline Center 1000 RPM (826-184C) Eurocardan
214
Driveline Center 1000 RPM (826-261C) Walterscheid.216
216
Driveline Center 1000 RPM (826-261C) Walterscheid
216
Driveline Conv. 1000 RPM (826-189C) EC New Shields
218
Driveline Conv. 1000 RPM (826-189C) EC Old Shields
220
Driveline Conv. 1000 RPM (826-189C) EC New Shields.218 Driveline Conv. 1000 RPM (826-189C) EC Old Shields
220
Driveline Conv. 1000 RPM (826-247C) Walterscheid (S/N 214515+)
222
Driveline CV 1000 RPM (826-118C) Walterscheid (S/N 214514-)
224
Driveline CV 1000 RPM (826-182C) EC New Shields.226
226
Driveline CV 1000 RPM (826-182C) EC New Shields
226
Driveline CV 1000 RPM (826-182C) EC Old Shields
228
Driveline CV 1000 RPM (826-244C) 1 3/8-21 Walterscheid (S/N 214515 to 468225)
230
Driveline CV 1000 RPM (826-245C) 1 3/4-20 Walterscheid (S/N 488896-)
232
Driveline CV 1000 RPM (826-477C) 1 3/8-21 Comer (S/N 468226 to 547835)
234
Driveline CV 1000 RPM (826-499C) 1 3/4-20 Comer (S/N 488897+)
236
Driveline CV Joint (1000 RPM) (7106632) Eurocardan
238
Driveline CV Joint (1000 RPM) (7600621) Eurocardan
240
Driveline Slip Clutch (146.264.024.1) Comer
242
Driveline Slip Clutch (146.284.020.1) Comer
244
Driveline Slip Clutch (383805) Walterscheid
246
Driveline Slip Clutch 1000 RPM (1406016) Eurocardan
248
Driveline Slip Clutch 1000 RPM (391359) Walterscheid
250
Driveline Slip Clutch 540/1000 RPM (1446016) EC
252
Driveline Wing (826-185C) EC New Shielding
254
Driveline Wing (826-185C) EC Old Shielding
256
Driveline Wing (826-262C) Walterscheid (S/N 461934-)
258
Driveline Wing (826-481C) Comer (S/N 461935 to 461937, 468573+)
260
Section 6: Gearboxes
262
Gearbox 1000 RPM RCM5015 (826-176C) RCM6015 (826-233C) OMNI
262
Gearbox 1000 RPM RCM5015 (826-177C) RCM6015 (826-234C) OMNI
264
Gearbox 1000 RPM RCM5015 (826-178C) & (826-175C) RCM6015 (826-235C) OMNI
266
Gearbox 1000 RPM RCM5015 (826-317C) RCM6015 (826-322C) Comer
268
Gearbox 1000 RPM RCM5015 (826-317C) RCM6015 (826-322C) Eurocardan
270
Gearbox 1000 RPM RCM5015 (826-318C) RCM6015 (826-323C) Comer
272
Gearbox 1000 RPM RCM5015 (826-318C) RCM6015 (826-323C) Eurocardan
274
Gearbox 1000 RPM RCM5015 (826-319C) RCM6015 (826-324C) Comer
276
Gearbox 1000 RPM RCM5015 (826-319C) RCM6015 (826-324C) Eurocardan
278
Gearbox Divider 1000 RPM (826-180C) Comer
280
Gearbox Divider 1000 RPM (826-180C) OMNI
282
Section 7: Hydraulics
284
Hydraulic Center Lift
284
Hydraulic Cylinder (810-150C) Red Lion
286
Hydraulic Cylinder (810-162C) Red Lion
288
Hydraulic Cylinder (810-312C) Red Lion)
290
Hydraulic Cylinder (810-624C) Midway
292
Hydraulic Cylinder (810-624C) Red Lion
294
Hydraulic Cylinder Center (810-195C) Midway
296
Hydraulic Cylinder Center Lift (810-162C) Cross
298
Hydraulic Cylinder Center Lift (810-162C) Midway
300
Hydraulic Cylinder Wing (810-150C) Cross
302
Hydraulic Cylinder Wing (810-150C) Midway
304
Hydraulic Cylinder Wing (810-312C) Cross
306
Hydraulic Cylinder Wing (810-312C) Midway
308
Hydraulic Independent Wing Control Accessory
310
Hydraulic Valve Selector Assessory
312
Hydraulic Valve Spool Control Accessory
314
Hydraulic Wing Lift
316
Maunal Winch Wing Deck Accessory
318
Section 8: Labels
320
Label Placement
320
Section 8: Labels
324
Section 9: Options
324
Baffle Shreader Kit
324
Shredder Kit Comer (S/N 235492+)
326
Shredder Kit Omni (S/N 235491-)
328
Baffle Shreader Kit
330
Section 9: Options & Accessories
330
Shredder Kit Comer (S/N 235492+)
332
Shredder Kit Omni (S/N 235491-)
334
Related product manuals
Land Pride RCC5615
162 pages
Land Pride RCR2510
92 pages
Land Pride RCR3510
112 pages