EasyManua.ls Logo

LaserLine 211UK - Disarming Using the Emergency Pin Code

Default Icon
24 pages
Print Icon
To Next Page IconTo Next Page
To Next Page IconTo Next Page
To Previous Page IconTo Previous Page
To Previous Page IconTo Previous Page
Loading...
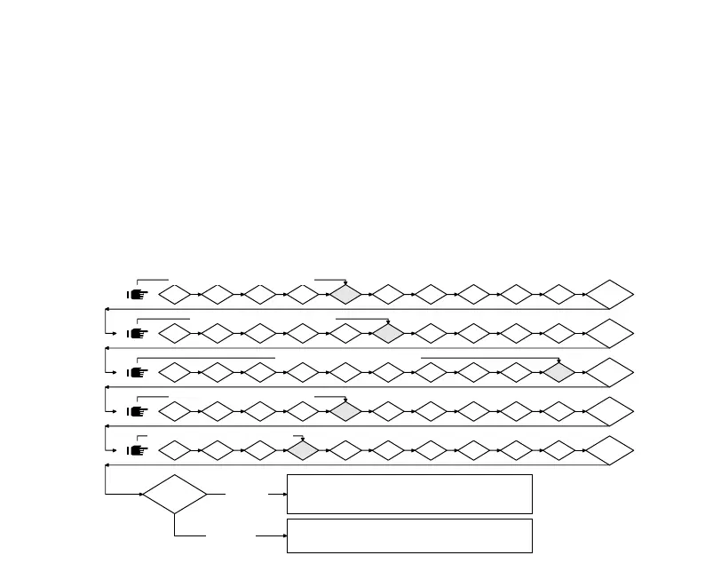
HOW TO DISARM THE ALARM USING THE EMERGENCY PIN CODE
If your transmitter does not work correctly or has been lost, to disarm the alarm system you must
insert the “emergency pin code” by doing the following:
1) With the alarm armed, activate the siren by opening the door on the driver’s side;
2) Enter the vehicle. The alarm will stop sounding after 30 seconds and then the LED installed on
the dashboard will illuminate for 5 seconds. Within the 5 seconds, turn on the ignition key for
1 second;
3) The LED installed on the dashboard will start to flash and the alarm is ready to accept the Pin
Code. If not interrupted, the LED will flash 10 times. Wait for the flashes corresponding to
each digit of your Pin Code to be displayed, then turn ON the ignition key for 1 second only
after the LED is off. Read Pin Code at the end of these instructions from left to right. For a
better understanding, see the following example.
55
55
5
66
66
6
00
00
0
55
55
5
44
44
4
CODE
1 72 103 94 6 8
TURN ON THE IGNITION FOR 1 SEC.
2" PAUSE
CODE
CORRECT
ALARM ARMED, SIREN ON FOR 30 SEC. AND THEN IT IS
POSSIBLE TO REPEAT THE EMERGENCY PROCEDURE
GARAGE FUNCTION ACTIVATED
WITHOUT ANY TIME RESTRICTION AND
WITHOUT ANY OPTICAL AND ACOUSTIC SIGNAL
TURN ON THE IGNITION FOR 1 SEC.
TURN ON THE IGNITION FOR 1 SEC.
TURN ON THE IGNITION FOR 1 SEC.
TURN ON THE IGNITION FOR 1 SEC.
1 72 103 94 5 8
2" PAUSE
1 72
10
3 94 5 6 8
2" PAUSE
1 72 103 94 6 8
2" PAUSE
1 72 103 95 6 8
2" PAUSE
6
5
5
4
INCORRECT
ALARM DISARMS WITHOUT ANY AUDIBLE
TONES AND VISUAL SIGNALS

Related product manuals