EasyManua.ls Logo

Laurus LCA60 - Elektrischer Anschluss und Sicherheitshinweise

Default Icon
Print Icon
To Next Page IconTo Next Page
To Next Page IconTo Next Page
To Previous Page IconTo Previous Page
To Previous Page IconTo Previous Page
Loading...
DE – 12
festschrauben.
• Das Gerät in den Ausschnitt einsetzen.
2.2 eleKtriScher AnSchluSS
und SicherheitShinweiSe
WARNUNG:Der elektrische Anschluss
des Gerätes muss von einem
autorisierten Servicemitarbeiter oder
einer qualifizierten Elektrofachkraft gemäß
den Hinweisen in dieser
Gebrauchsanweisung und unter Einhaltung
der geltenden lokalen Vorschriften
durchgeführt werden.
WARNUNG:Das Gerät muss geerdet
sein.
• Vor dem Anschluss des Gerätes
an die Spannungsversorgung, die
Übereinstimmung der Nennspannung
des Gerätes (auf dem Typenschild
angegeben) mit der anliegenden
Netzversorgungsspannung
sicherstellen, und die Netzverkabelung
muss für die Leistungsaufnahme des
Gerätes ausgelegt sein (ebenfalls auf
dem Typenschild angegeben).
• Sicherstellen, dass für den Anschluss
isolierte Kabel verwendet werden.Bei
einem falsch ausgeführten Anschluss
kann das Gerät beschädigt werden.
Ein beschädigtes Netzkabel darf nur
von einer qualifizierten Fachkraft
ausgetauscht werden.
• Keine Adapter, Mehrfachsteckdosen
und/oder Verlängerungskabel
verwenden.
• Das Netzkabel muss von heißen Teilen
des Gerätes ferngehalten werden und
darf nicht gebogen oder gequetscht
werden.Andernfalls kann das Kabel
beschädigt und ein Kurzschluss
verursacht werden.
• Wird das Gerät nicht mit einem Stecker
angeschlossen, muss ein allpoliger
Trennschalter (mit mindestens 3 mm
Kontaktabstand) zwischengeschaltet
werden, um die Sicherheitsvorschriften
zu erfüllen.
• Der mit Sicherungen abgesicherte
Schalter muss auch nach dem Einbau
des Gerätes leicht zugänglich sein.
• Sicherstellen, dass alle Anschlüsse
ordnungsgemäß festgezogen sind.
• Das Anschlusskabel mit einer
Kabelschelle zugentlasten und die
Abdeckung schließen.
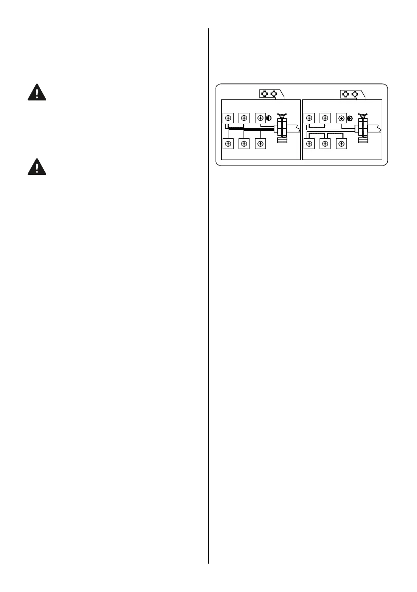
• Der richtige Klemmenanschluss ist auf
dem Anschlusskasten dargestellt.
4
4
N
N PE
PE
L2
L3
L1
L
5 5
3
3
2
2
1
1

Table of Contents

Related product manuals