EasyManua.ls Logo

Laurus LEH8 - Instalación de Los Aparatos; Instalación y Preparación para Su Uso; Instrucciones para el Instalador

Default Icon
Print Icon
To Next Page IconTo Next Page
To Next Page IconTo Next Page
To Previous Page IconTo Previous Page
To Previous Page IconTo Previous Page
Loading...
ES - 10
2. INSTALACIÓN Y
PREPARACIÓN PARA SU USO
ADVERTENCIA: Este aparato debe
instalarlo una persona de servicio
autorizada o un técnico cualificado
siguiendo las instrucciones proporcionadas
en esta guía y cumpliendo las normativas
locales vigentes.
• Si la instalación se realiza de manera
incorrecta, la garantía quedará anulada
y podrían producirse daños físicos y
materiales, de los que el fabricante no
se hace responsable.
• Antes de la instalación asegúrese de que
las condiciones de la distribución local
(voltaje de electricidad y frecuencia) y los
ajustes del aparato son compatibles. Las
condiciones de ajuste de este aparato se
indican en la etiqueta.
• Deben cumplirse las leyes, ordenanzas,
directivas y estándares vigentes en el
país en el que se vaya a usar el aparato
(normativas de seguridad, reciclaje
adecuado conforme a las normativas,
etc.).
2.1. 
Instrucciones generales
• Tras quitar el material de embalaje del
aparato y de sus accesorios, asegúrese
de que el aparato no esté dañado. Si
sospecha que pueda haber cualquier
tipo de daño en el aparato, no lo utilice.
Póngase en contacto inmediatamente
con una persona de servicio autorizada
o un técnico cualificado.
• Asegúrese de que no haya materiales
inflamables o combustibles cerca del
aparato, como cortinas, aceite, trapos,
etc., que podrían prenderse fuego.
• La encimera y el mobiliario que rodee el
aparato debe estar hecho de materiales
resistentes a temperaturas superiores a
los 100 °C.
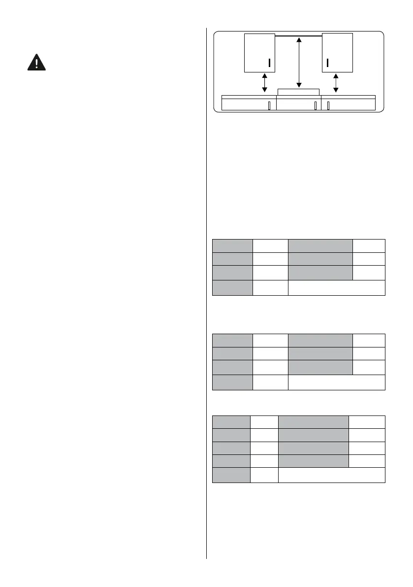
• Si se va a instalar una campana o un
armario sobre el aparato, la distancia
de seguridad entre la encimera y
el armario/la campana debe ser la
indicada a continuación.
ENCIMERA
Mínimo
42 cm
Mínimo
42 cm
Mínimo
65 cm (con
extractor)
Mínimo
70 cm (con
extractor)
El aparato no se debe instalar directamente
sobre un lavavajillas, frigorífico, congelador,
lavadora o secadora.
2.2. 
Los aparatos se suministran con kits de
instalación y se pueden instalar en una
encimera de dimensiones adecuadas. Las
dimensiones para la encimera y el horno se
proporcionan debajo.
Dimensiones de instalación de encimera
de placa térmica
A1 (mm) 580 E1 (mm) 490
B1 (mm) 510 mín. F1 (mm) 50
C1 (mm) 40 mín. G1 (mm) 50
D1 (mm) 560
Dimensiones de instalación de encimera
vitrocerámica
A1 (mm) 590 E1 (mm) 490
B1 (mm) 520 mín. F1 (mm) 50
C1 (mm) 41 mín. G1 (mm) 50
D1 (mm) 560
Dimensiones de instalación de horno
A2 (mm) 557 E2 (mm) 574
B2 (mm) 550  560-580
C2 (mm) 595  555/5
D2 (mm) 575 H2 (mm) 600
I2(mm) 25

Table of Contents

Related product manuals