EasyManua.ls Logo

Lennox COMFAIR HH Series - Page 15

Lennox COMFAIR HH Series
20 pages
To Next Page IconTo Next Page
To Next Page IconTo Next Page
To Previous Page IconTo Previous Page
To Previous Page IconTo Previous Page
Loading...
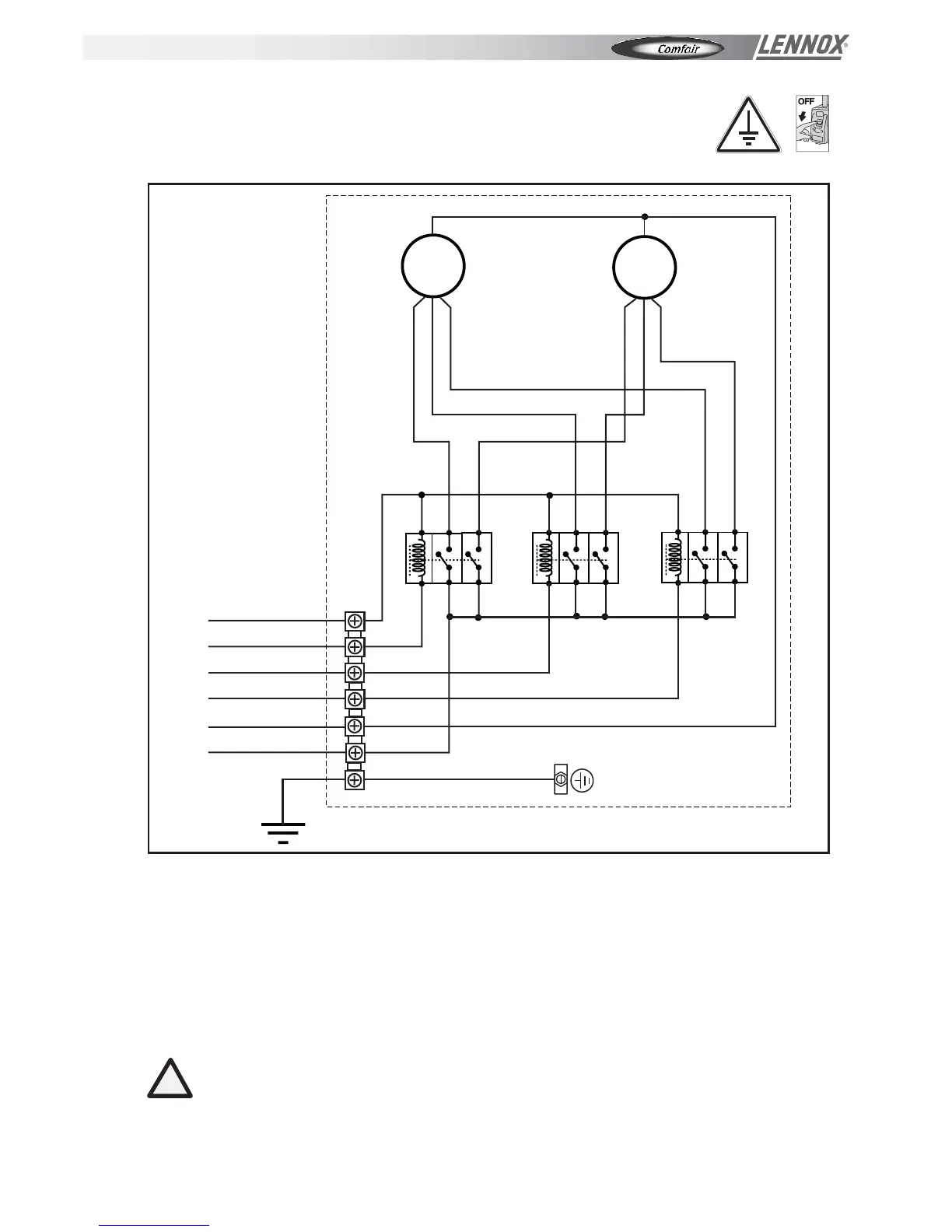
ELECTRICAL CONNECTIONS
Wiring diagram of ductable air treatment unit mod. 70.
Com
I
II
III
I
II
III
Remote control
230Vca
N
Ph
T
230 V / 1 / 50 Hz
G/
V
R3
I
II
III
R1
R2
A1
2
4
A1
2
4
A1
2
4
A2
1
3
A2
1
3
A2
1
3
33 22 11
M1 M2
T
LEGEND
Ph Phase (brown)
N Neutral (blue)
T Earth (yellow/green)
M1, M2 Fan motor
Com Common (white)
I Minimum speed (red)
II Medium speed (grey)
III Maximum speed (black)
R1 Relay
R2 Relay
R3 Relay
CAUTION!
FAILURE TO COMPLY WITH THE INDICATED CONNECTIONS MAY CAUSE MOTOR
BURNOUT!
!
Fig. 18
INSTALLATION - OPERATING & MAINTENANCE MANUAL
Page 13

Other manuals for Lennox COMFAIR HH Series

Related product manuals