EasyManua.ls Logo

Lennox Enlight LGT240H4M - Page 35

Lennox Enlight LGT240H4M
106 pages
Print Icon
To Next Page IconTo Next Page
To Next Page IconTo Next Page
To Previous Page IconTo Previous Page
To Previous Page IconTo Previous Page
Loading...

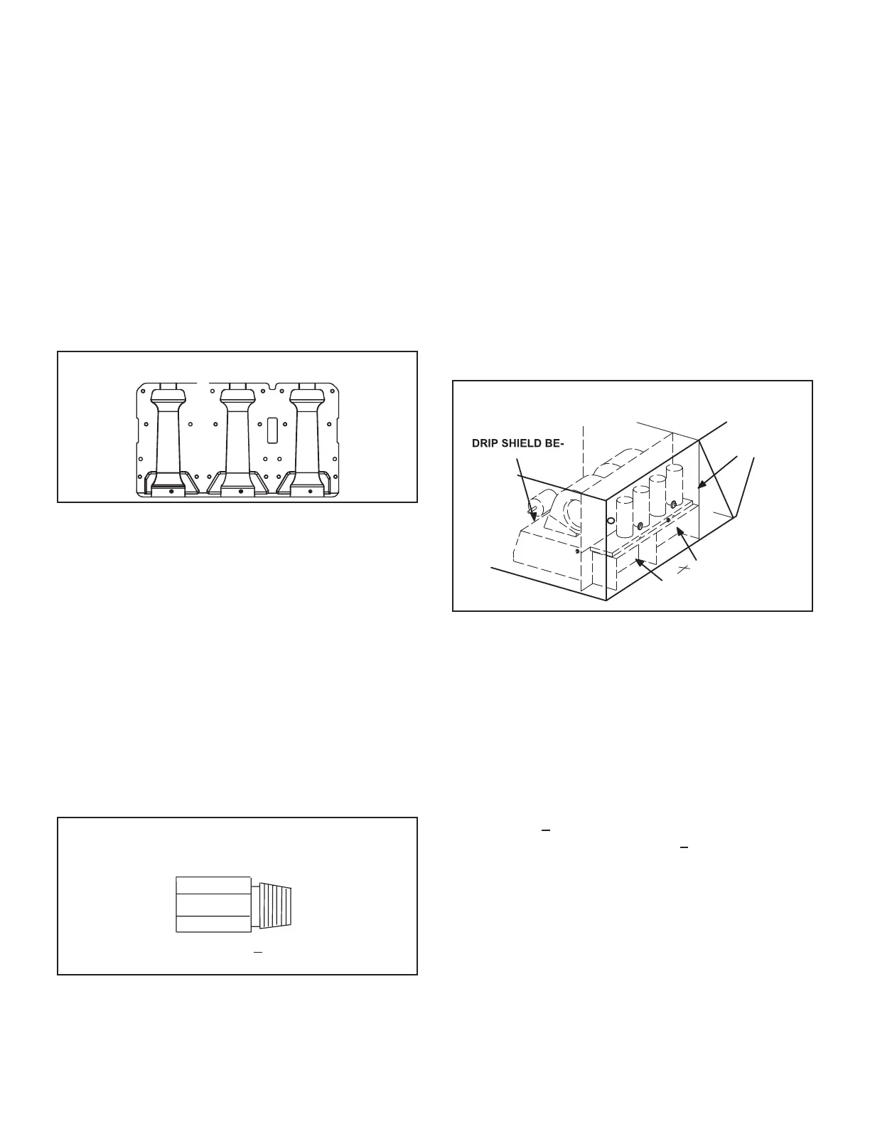
3-Burner Assembly (Figure 23)


       
       
        

Burners
  


         



TYPICAL GAS BURNER ASSEMBLY
FIGURE 23




  
󰀨
NOTE-Do not use thread sealing compound on the oric-
es. Using thread sealing compound may plug the orices.
Natural gas orice size is on nameplate. The LP gas ori-
ce size is on the label provided in the LP kit.
NOTE- In primary and secondary high temperature limits
S10 and S99 the ignition circuits in both gas heat sections
one and two are immediately de-energized when termi-
nals 1-3 open and the indoor blower motor is immediately
energized when terminals 1-2 close. This is the primary
and secondary safety shut-down function of the unit.
ORIFICE WITH
PIPE THREADS
Tighten to 6.25 + .5 ft.lbs.
Do not over-tighten.
FIGURE 24
4-Primary High Temperature Limits S10 & S99
-








        

-


    


S10 and S99 Location
CONDENSER
DIVIDER
PANEL
S10 AND S99 ON
HIND BLOWER
HOUSING
GAS HEAT
SECTION 1
GAS HEAT
SECTION 2
FIGURE 25
5-Flame Rollout Limits S47, S69

       

      





+
+ 12 F on a tempera-

6-Combustion Air Prove Switches S18, S45


         
   -
-


Related product manuals