EasyManua.ls Logo

Lennox HS29-513 - HS29-2 & -3 Single-Phase Operation (Scroll)

Lennox HS29-513
20 pages
Print Icon
To Next Page IconTo Next Page
To Next Page IconTo Next Page
To Previous Page IconTo Previous Page
To Previous Page IconTo Previous Page
Loading...
Page 19
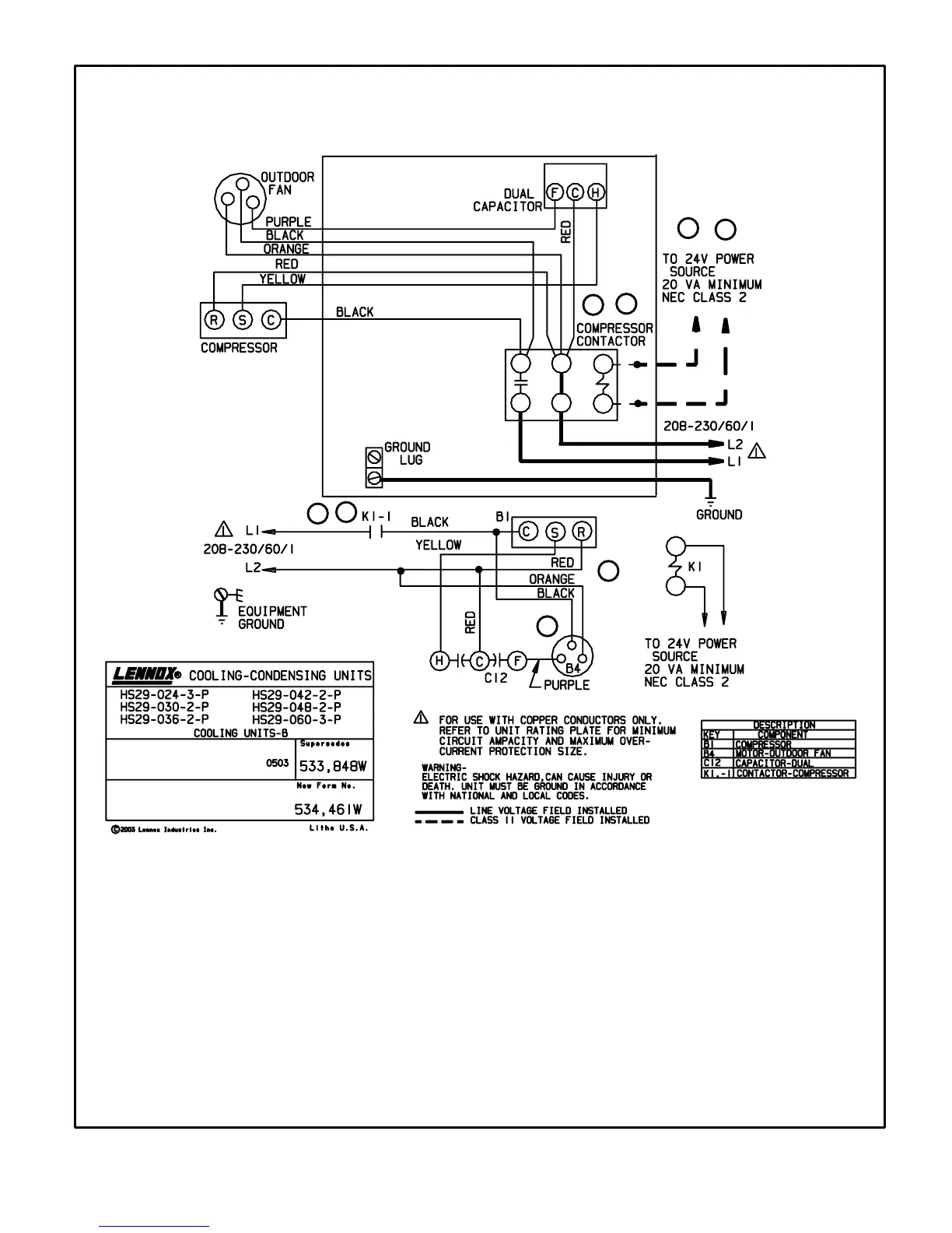
NOTE− The thermostat used may be electromechanical or electronic.
NOTE− Transformer in indoor unit supplies power (24 VAC) to the thermostat and outdoor unit controls.
COOLING:
2Cooling demand initiates at Y1 in the thermostat.
324VAC from indoor unit energizes compressor contactor K1.
4K1-1 N.O. closes, energizing terminal C" of compressor (B1) and outdoor fan motor (B4).
5Outdoor fan motor (B4) begins immediate operation.
6Compressor (B1) begins operation.
END OF COOLING DEMAND:
7Cooling demand is satisfied. Terminal Y1 is de-energized.
8Compressor contactor K1 is de-energized.
9K1-1 opens and compressor (B1) and outdoor fan motor (B4) are de-energized and stop immediately.
1
2
3
4
5
6
7
8
HS29−2 & −3 SINGLE−PHASE OPERATING SEQUENCE
(SCROLL COMPRESSORS)

Related product manuals