EasyManua.ls Logo

Lennox KCC092S4 - Page 22

Lennox KCC092S4
51 pages
To Next Page IconTo Next Page
To Next Page IconTo Next Page
To Previous Page IconTo Previous Page
To Previous Page IconTo Previous Page
Loading...
Page 22
LOCATION OF STATIC PRESSURE READINGS
SUPPLY AIR
READING
LOCATION
SUPPLY
TURN
INSTALLATIONS WITH DUCTWORK
SUPPLY
TURN
INSTALLATIONS WITH CEILING DIFFUSERS
MAIN
DUCT RUN
FIRST BRANCH
OFF OF MAIN RUN
DIFFUSER
ROOFTOP UNIT
ROOFTOP UNIT
SUPPLY AIR
READING
LOCATION
RETURN AIR
READING LOCATION
RETURN AIR
READING
LOCATION
FIGURE 8
 

 To increase belt tension -

to move the motor outward and tighten the belt. This
increases the distance between the blower motor
and the blower housing.
To loosen belt tension -

to loosen belt tension.
IMPORTANT - Align top edges of blower motor base
and mounting frame base parallel before tightening
two bolts on the other side of base. Motor shaft and
blower shaft must be parallel.
 

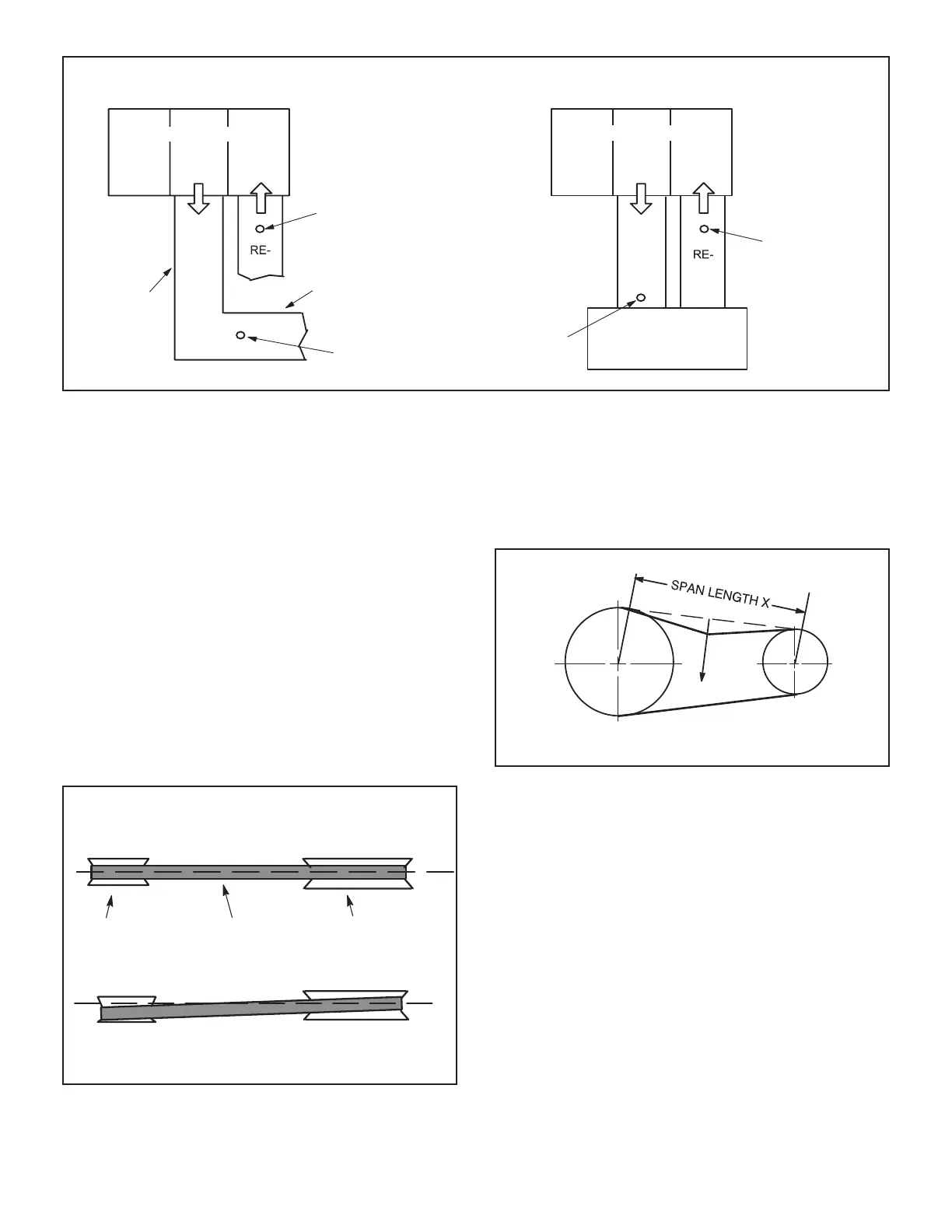
PULLEY ALIGNMENT
BELT
BLOWER
PULLEY
MOTOR
PULLEY
NOT ALIGNED
ALIGNED
FIGURE 9
F-Check Belt Tension


 
MEASURE BELT TENSION
DEFLECTION 1/64” PER INCH OF SPAN
OR 1.5mm PER 100mm OF SPAN
FORCE
FIGURE 10
 


       

      
would be 6mm.
 

        

     
     
indicates an overtensioned belt.
G-Field-Furnished Blower Drives
       
 
   


Related product manuals