EasyManua.ls Logo

Lenze EZAEBK1001 - Page 3

Lenze EZAEBK1001
Print Icon
To Next Page IconTo Next Page
To Next Page IconTo Next Page
To Previous Page IconTo Previous Page
To Previous Page IconTo Previous Page
Loading...
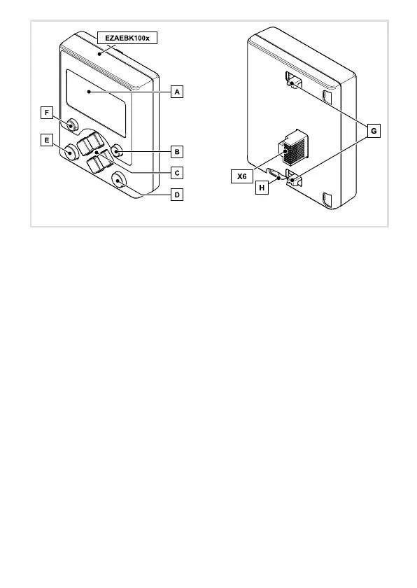
Ausklappbild KeypadX400−Ausklapp_Keypad_HH
E94AZKAE025/035

Related product manuals