EasyManua.ls Logo

Lenze EZAEBK2001 - Page 3

Lenze EZAEBK2001
94 pages
Go to English
To Next Page IconTo Next Page
To Next Page IconTo Next Page
To Previous Page IconTo Previous Page
To Previous Page IconTo Previous Page
Loading...
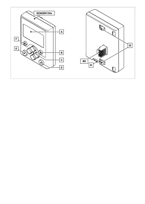
Ausklappbild KeypadX400−Ausklapp_Keypad_HH
E94AZKAE025/035

Related product manuals