EasyManua.ls Logo

Leslie A-2 - Cleaning or Replacing Parts; Diaphragm Replacement; Integral Filter Types - Class AF-2, Etc; Reassembling

Default Icon
9 pages
Print Icon
To Next Page IconTo Next Page
To Next Page IconTo Next Page
To Previous Page IconTo Previous Page
To Previous Page IconTo Previous Page
Loading...
4
CLEANING OR REPLACING PARTS
Examine and clean all parts. Use an approved detergent
(non-injurious to synthetic materials) for cleaning. Blow
out all ports and main body with air. Replace any badly
worn or damaged parts.
DIAPHRAGM REPLACEMENT
Disassemble nozzle disc assembly consisting of diaphragm
disc (10), diaphragm (11) and nozzle (13). Nozzle snaps
out of diaphragm disc by finger pressure on diaphragm
disc side. Reassemble parts (with curve of disc away from
diaphragm). Snap nozzle into place in diaphragm disc.
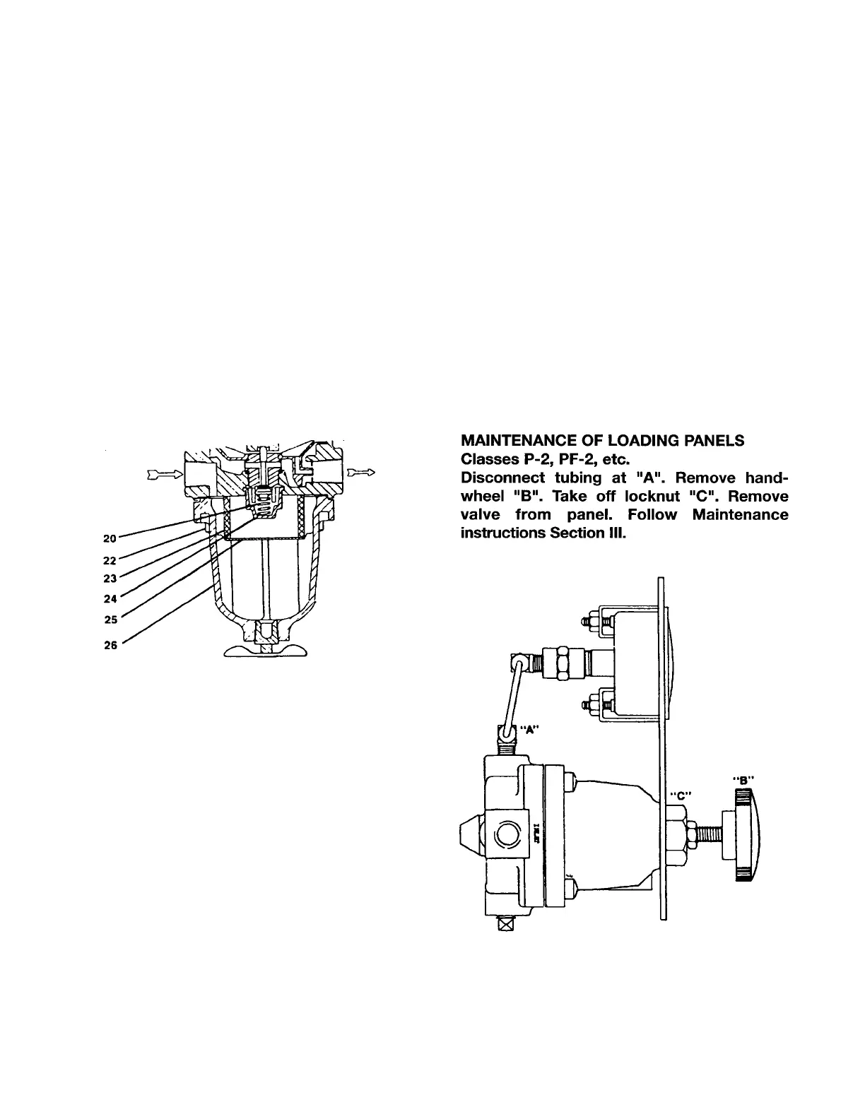
Integral Filter Types – Class AF-2, etc.
In integral filter types remove filter case (26) from main
body. Remove filter (23) and filter support disc (25).
Figure 3 - Partial Assembly of AF-2 Type showing
Additional Parts in Filter Assembly. All other parts
(except main body) are the same as in A-2 Classes
NOTE: Removal of valve spring retainer (24) in integral
Filter Types is unnecessary unless it is to be replaced. To
remove, squeeze sidewalls together to clear groove in main
body, then pull. To insert new part, squeeze sidewalls
together sufficiently for shoulders to pass through body
opening and into groove.
REASSEMBLING
1. Place main valve spring (20) in main body (15). Place
“O” Ring (17) in recess of body. Assemble main valve
(18), with “O” Ring (19), in valve seat (16). Screw
valve seat into main body threads until seating face
contacts main body and tighten.
2. Place gasket (12) in recess of main body (15). Insert
aspirator plate (14) with aspirator tube in outlet
orifice. Snap aspirator plate in place with finger
pressure. Place nozzle-diaphragm assembly in main
body with diaphragm disc (10) upward. Place
adjusting spring(s) (6) and top spring seat (4) on
diaphragm disc. Position spring case (8) with
handwheel (1) on main body. Insert screws (9) and
tighten.
Integral Filter Types – Class AF-2, etc.
In integral filter types, place spring (20) into valve spring
retainer (24), see figure 3, place filter support disc (25) and
filter (23) in filter case (26). Assemble gasket (12) and
filter case to main body. Insert screws (22) and tighten.
3. Readjust regulator as described under
“OPERATION”.
Figure 4 - Class P-2 Panel Loader