EasyManua.ls Logo

LG DFB512FP - Loading the Lower Rack

LG DFB512FP
52 pages
Print Icon
To Next Page IconTo Next Page
To Next Page IconTo Next Page
To Previous Page IconTo Previous Page
To Previous Page IconTo Previous Page
Loading...
33
OPERATION
ENGLISH
g
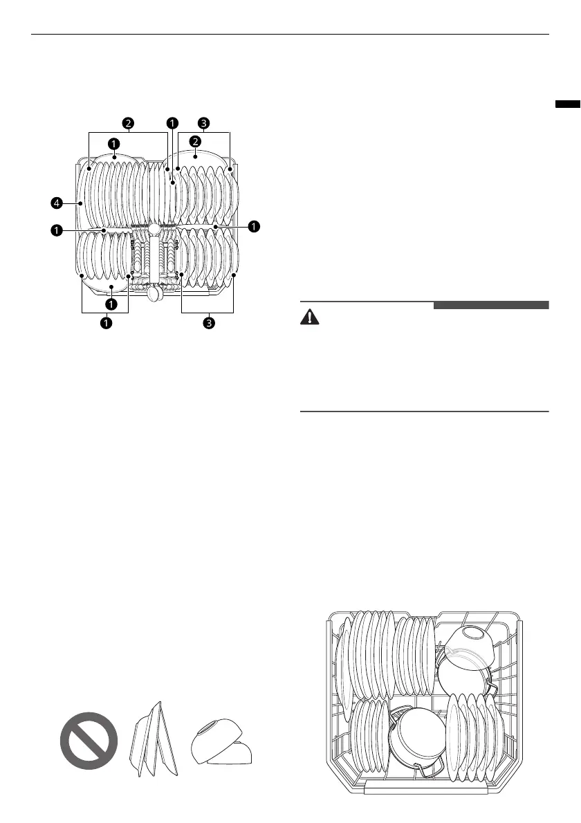
Dessert Dishes
Lower Rack
a
Dessert Dishes
b
Dinner Plates
c
Soup Plates
d
Oval Platter
Loading the Dishwasher
For effective washing results, always follow the
instructions.
Remove large particles of food debris from
plates including bones etc. before loading.
Always rinse off plates when loading if they are
not to be washed immediately.
Items with burnt on food should be soaked prior
to loading the dishwasher.
Deep based items should be placed upside
down.
Plastic items will not dry well, compared to other
items.
Make sure that all items do not touch each other.
Items not Suitable for
Dishwashers
The combination of high water temperature and
dishwasher detergents may damage certain items.
Do not wash the following items.
Copper or anodised aluminium
Hand painted silver or gold leaf crockery
Wood or bone handled utensils
Iron or non rust proof utensils
Plastic items which are not appliance safe
Expensive ware such as silver and dishes with
golden rings
Fragile item such as crystal glasses
CAUTION
Do not place pots or pans with plastic handles in
the appliance as the handles may deteriorate
due to the heat and detergent.
Water proof or long lasting lipstick smudges on
glasses may not be removed during the wash.
Loading the Lower Rack
Daily Use Load
The lower rack is suitable for dinner plates, soup
bowls, dishes, pots, pans, lids and even a grill tray.
Plates should be positioned upright and facing the
centre of the rack and pots, pans and large dishes
must be turned upside down.
To make it easier to load larger dishes, the front
row of tines can be folded down.

Related product manuals