EasyManua.ls Logo

LG DLEX7700*E - Page 16

LG DLEX7700*E
57 pages
Print Icon
To Next Page IconTo Next Page
To Next Page IconTo Next Page
To Previous Page IconTo Previous Page
To Previous Page IconTo Previous Page
Loading...
16
INSTALLATION INSTRUCTIONS
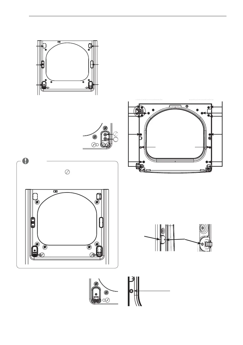
d. Reverse the hinge and the hinge bracket at the
bottom of the cabinet. Remove the two screws from
the hinge bracket at bottom right and remove the
hinge bracket.
Remove the lower of the two
screws behind the hinge
bracket. Do NOT remove the
upper screw behind the hinge
bracket. Set the parts aside.
e. Remove the three screws on the
hinge at bottom left. Remove the
hinge and reinstall it on the right
side. The top screw occupies the
hole where you removed the screw
behind the hinge bracket in step d.
f. Install the hinge bracket removed in step d on the
bottom left side, first installing one screw behind the
hinge bracket.
NOTE
Do /05 remove any of the eight screws on the face of
the cabinet (marked with
below). Doing so could
result in damage to the dryer and the need for a
service call to repair the dryer.
ON THE DOOR:
-JGUPGGUIFEPPSDPWFS
With the door laid inside facing up on a protected
TVSGBDFSFNPWFUIFTDSFXTPOUIFJOTJEFPGUIF
door. Carefully lift off the door cover with the help of
a small flat blade screwdriver inserted in the upper
corner (circled below).
W
WARNING
The edges of the door cover may be sharp. Take care
when handling, or wear gloves to avoid injury.
4XJUDIUIFEPPSTUSJLFBOEUIFCMBOLDPWFS
Remove the four screws on the door cover that secure
the door strike and the blank cover.
Switch the door strike and the blank cover, installing
them on the opposite sides from which they were
removed.
Gently pry out the hole plug on the side of the door
cover and install it in the hole on the opposite side.
Set the door cover aside.
Reversing the Door (continued)
upper
hinge
hinge
cover
latch hole
cover
latch
mechanism
hinge
bracket
hinge
twelve screws
long screw
short
screws
blank cover door strike
hole plug
Hole
plug
interlock
button

Other manuals for LG DLEX7700*E

Related product manuals