EasyManua.ls Logo

LG GR-L227 - Load Driving, Door Sensing & Dispenser Circuits

LG GR-L227
101 pages
To Next Page IconTo Next Page
To Next Page IconTo Next Page
To Previous Page IconTo Previous Page
To Previous Page IconTo Previous Page
Loading...
1-4. Load/dispenser operation, door opening circuit
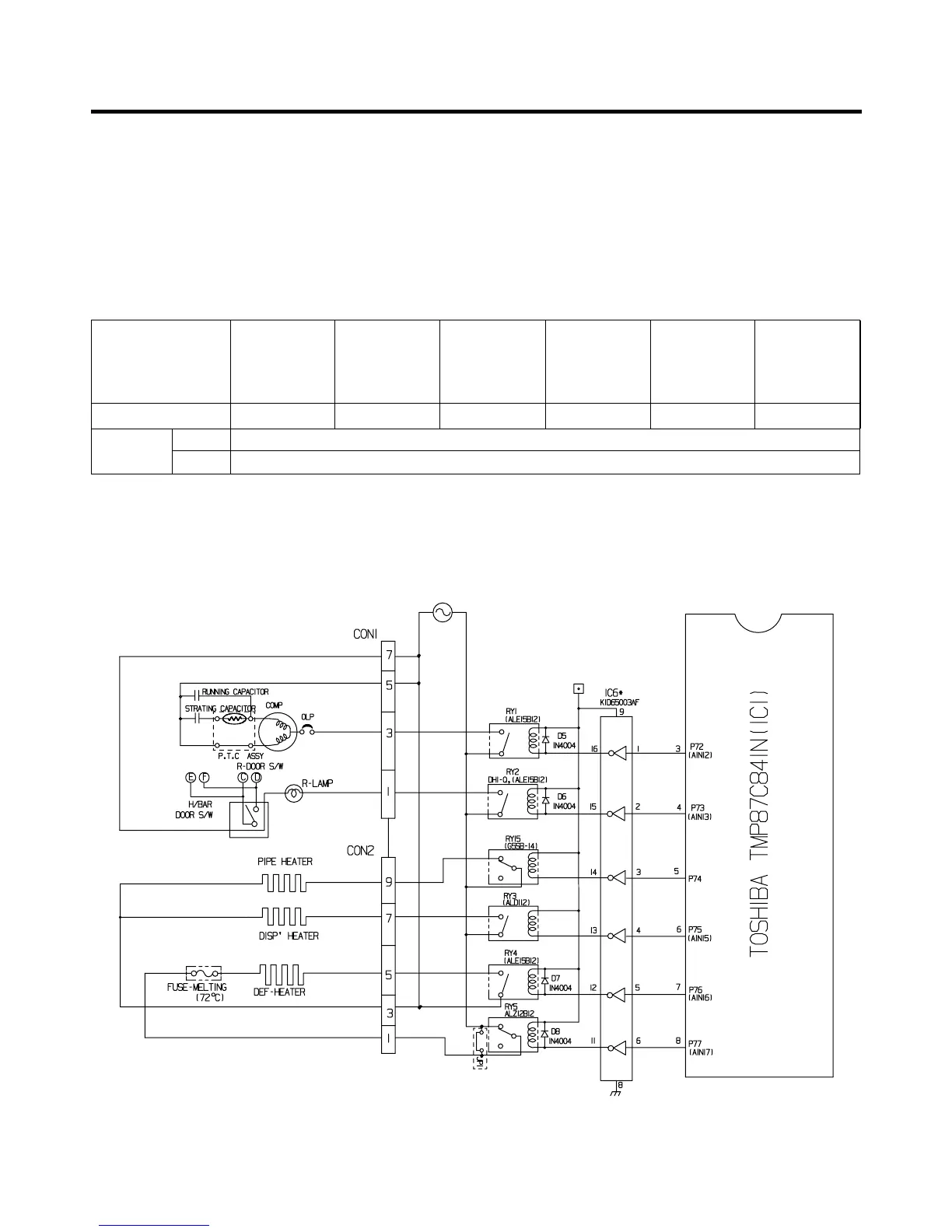
1. LOAD DRIVING CIRCUIT
The fan motor at the freezing room does not stop but operates if opening doors of the freezing room or cold storage room
or the home bar during operation of the fan motor at the freezing room.
(A), (B), (C) and (D) of door switch for the freezing room or cold storage room are connected to the door open sensing
circuit toward both ends of switch to determine door open at MICOM.
Since a door switch of the home bar is connected to door switch (C), (D) of the cold storage room, it senses door opening
if even one of both is opened.
(1) GR-P227/L227
EXPLATION FOR MICOM CIRCUIT
- 29 -
Measuring part (IC6) No.16 No.12 No.11 No.15 No.13 No.14
Status
ON Within 1 V
OFF 12 V
Type of Load COMP
Frost
Removal
Heater
AC Converting
Relay
R-room LAMP
Dispenser
Heater
Pipe Heater

Related product manuals