EasyManua.ls Logo

LG LFX25960ST - Page 14

LG LFX25960ST
128 pages
To Next Page IconTo Next Page
To Next Page IconTo Next Page
To Previous Page IconTo Previous Page
To Previous Page IconTo Previous Page
Loading...
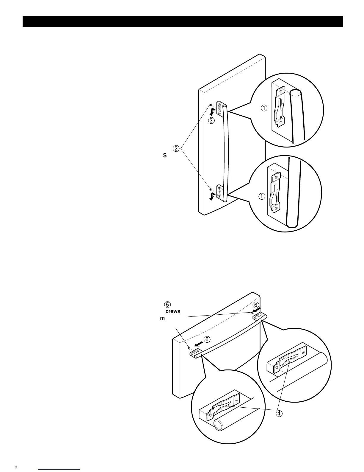
HOW TO REPLACE DOOR HANDLES
(LFX25960**/LFX21960** Models)
NOTE: Handle appearance may vary from
illustrations on this page.
1. Replacing Refrigerator Door Handle
Align keyhole slots (1) on the top and
bottom of the back of the handle with the
screws (2) mounted on the front of the
door.
Press the handle against the door front,
making sure that the screws (2) go into the
keyhole slots (1).
Holding the handle with both hands, press
it firmly against the front of the door and
slide the handle down (3).
2. Replacing Freezer Drawer Handle
Align keyhole slots (4) on the right and left
sides of the back of the handle with the
screws (5) mounted on the front of the
drawer.
Press the handle against the drawer front,
making sure that the screws (5) go into the
keyhole slots (4).
Holding the handle with both hands, press
it firmly against the front of the drawer and
slide the handle to the left (6).
REFRIGERATOR INSTALLATION
2
Screws
mounted
on door
3
1
1
6
6
5
Screws
mounted
on door
Keyhole slots
on back of
handle
4
14

Table of Contents

Other manuals for LG LFX25960ST

Related product manuals