EasyManua.ls Logo

LG MULTI F Series - Page 28

LG MULTI F Series
104 pages
Print Icon
To Next Page IconTo Next Page
To Next Page IconTo Next Page
To Previous Page IconTo Previous Page
To Previous Page IconTo Previous Page
Loading...
28
MULTI F / MULTI F MAX Outdoor Unit Installation Manual
Due to our policy of continuous product innovation, some specifications may change without notification.
©LG Electronics U.S.A., Inc., Englewood Cliffs, NJ. All rights reserved. “LG” is a registered trademark of LG Corp.
MULTI
F
MAX
MULTI
F
Selecting the Best Location for the Indoor Units
Select a location for installing the indoor units that will meet the following conditions:
Within allowable parameters for proper connection to the outdoor unit (and branch distribution unit, if a Multi F MAX system).
So that condensation drainage can be conveniently routed away.
Include enough space around the indoor unit so that it is accessible for maintenance and service purposes.
Where electrical noise / electromagnetic waves will not affect indoor unit operation. Maintain proper distances between the indoor units and
electric wires, audio and visual appliances, breaker / circuit panels, etc. If the frequency signal of the appliance is unstable, then install the
indoor unit a minimum of ten (10) feet away, and run the power and transmission cables through a conduit.
An area that is level and with enough strength to bear the weight of the indoor unit(s).
Do Not’s
Install in an area with obstacles to air circulation around the unit; keep proper distances from ceilings, doorways, floor, walls, etc.
Install in an area where operation sound will disturb occupants.
Install in an area that exposes the indoor unit(s) to heat, water, steam, oil splattering or spray.
Selecting the Best Location for the Branch Distribution (BD) Units
Branch distribution (BD) units are used only with Multi
F MAX systems to distribute the refrigerant from the
outdoor unit up to eight (8) indoor units.
Select a location indoors that will meet the following
conditions:
Within allowable parameters for proper connection
to the Multi F MAX outdoor unit and indoor unit(s);
refrigerant piping and wire lengths must not exceed
amounts specified by LG Electronics, U.S.A., Inc.
Condensate drain piping is not required.
Ensure there is enough space in the installation
area for service purposes (minimum 24 inches);
install the refrigerant piping and electrical wiring
system in an easily accessible location.
Level where there is enough strength to bear the weight of the branch distribution unit.
Do Not’s
Install the branch distribution unit in a location where it would be subjected to strong radiation heat from heat sources.
Install in an installation environment where the branch distribution unit would be exposed to heat, water, steam, oil splattering or spray.
Install the unit in a location where any sound it generates will disturb occupants in the surrounding rooms.
,QVWDOOLQDORFDWLRQZKHUHWKHUHDUHREVWDFOHVWRDLUFLUFXODWLRQDURXQGWKHXQLWNHHSSURSHUGLVWDQFHVIURPFHLOLQJVGRRUZD\VÀRRUZDOOVHWF
Install in an area where high-frequency electrical noise / electromagnetic waves will affect operation. Maintain proper distances between the
branch distribution unit(s) and electric wires, audio and visual appliances, breaker / circuit panels, etc.
Indoor units (IDUs) must not be placed in an environment where the IDUs will be exposed to harmful volatile organic compounds (VOCs) or in
environments where there is improper air make up or supply or inadequate ventilation. If there are concerns about VOCs in the environment where
the IDUs are installed, proper air make up or supply and / or adequate ventilation must be provided. Additionally, in buildings where IDUs will be
exposed to VOCs consider a factory-applied epoxy coating to the fan coils for each IDU.
)RUGHWDLOHGSODFHPHQWFRQVLGHUDWLRQVDQGLQVWDOODWLRQUHTXLUHPHQWVIRULQGRRUXQLWVUHIHUWRLWV,QGRRU8QLW(QJLQHHULQJDQG
or Installation Manuals.
PLACEMENT CONSIDERATIONS
6HOHFWLQJWKH%HVW/RFDWLRQIRUWKH,QGRRU8QLWV
%UDQFK'LVWULEXWLRQ8QLWV
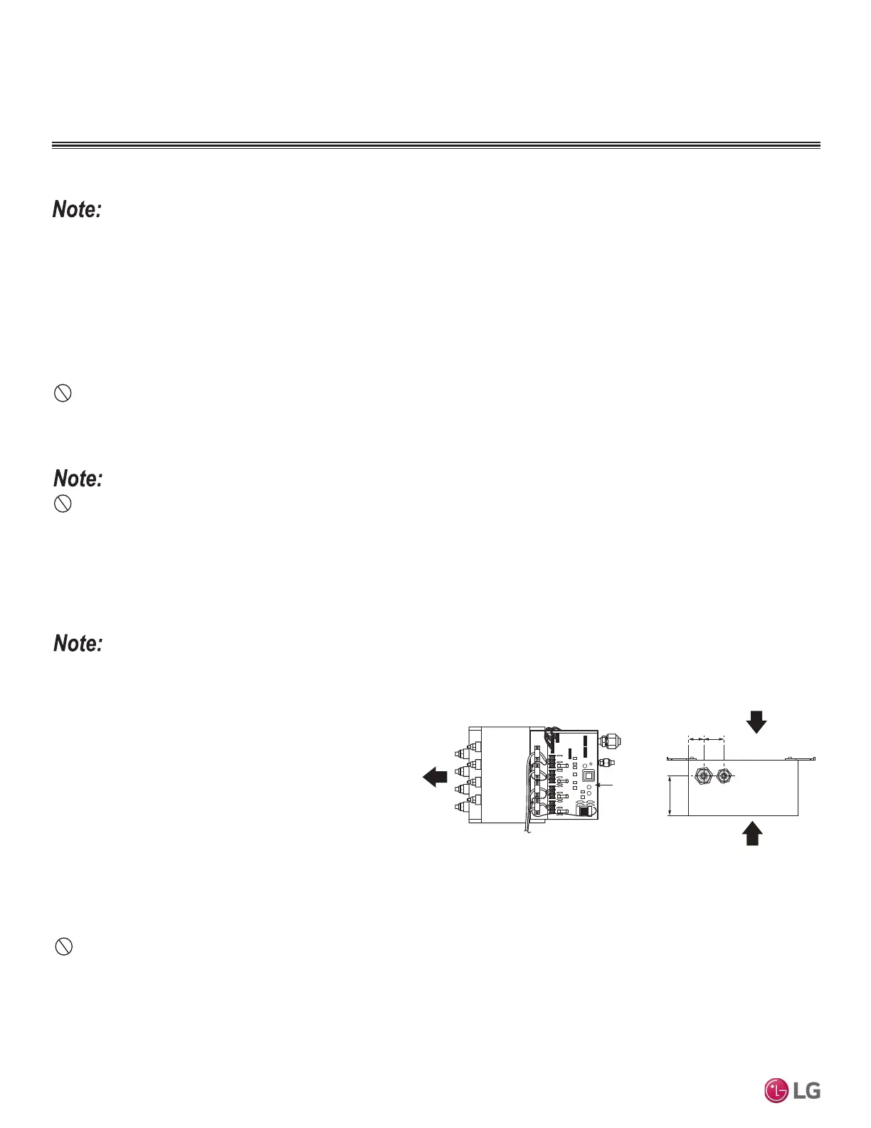
PCB
1-31/321-3/16
4-3/8
Service Direction
Piping to
Indoor Units
Service Direction
Figure 11: %UDQFK'LVWULEXWLRQ8QLW.H\&RPSRQHQWV

Other manuals for LG MULTI F Series

Related product manuals