EasyManua.ls Logo

Lifetime 1529 - SEC 4.2 Backboard to Pole Assembly: Short Extension Arms

Lifetime 1529
49 pages
Print Icon
To Next Page IconTo Next Page
To Next Page IconTo Next Page
To Previous Page IconTo Previous Page
To Previous Page IconTo Previous Page
Loading...
34
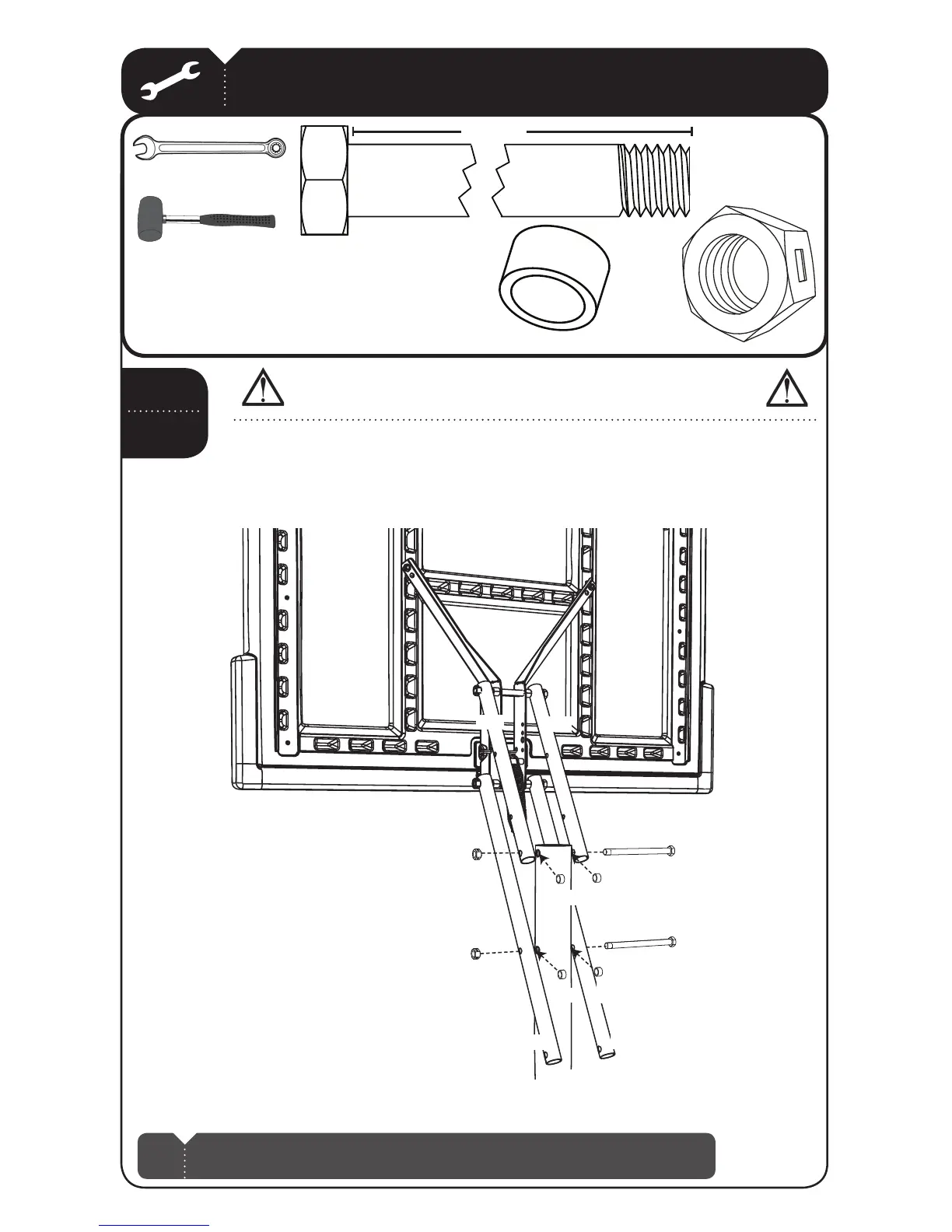
TOOLS AND HARDWARE REQUIRED FOR THIS PAGE
-BZUIF#BDLCPBSEBOE3JNBTTFNCMZPOUIFHSPVOEOFYUUPUIF
1PMFBTTFNCMZ3FTUUIF3JNPODBSECPBSEUPQSFWFOUTDSBUDIJOH
5IFOTFDVSFUIFShort and Long Extension Arms (AKC & AKB)UPUIF1PMF
"TTFNCMZXJUIUIFIBSEXBSFTIPXO
SEC
4.4
CAUTION: HAVE ONE ADULT HOLD THE BACKBOARD IN PLACE
UNTIL ASSEMBLY HAS BEEN COMPLETED!
3/4”Y
AAXY
ABPY
6 5/8”
/PUBDUVBMMFOHUI
ADGY
Note: Tighten the 1/2” Centerlock Nut (AAX) until it is fl ush with the end of the Bolt.
!
AAX
ABP
ADG
AKC
AAX
AKC
AKB
AKB
ABP
ABP
ABP
ADG
ALH

Related product manuals