EasyManua.ls Logo

Lifetime 60336 - Page 112

Lifetime 60336
132 pages
Print Icon
To Next Page IconTo Next Page
To Next Page IconTo Next Page
To Previous Page IconTo Previous Page
To Previous Page IconTo Previous Page
Loading...
112
X SECTION 10 (CONTINUED) / SECTION 10 (SUITE) / SECCIÓN 10 (CONTINUACIÓN)
TOOLS AND HARDWARE REQUIRED / OUTILS ET QUINCAILLERIE REQUIS / INSTRUMENTAL Y HERRAJE REQUERIDOS
10.32
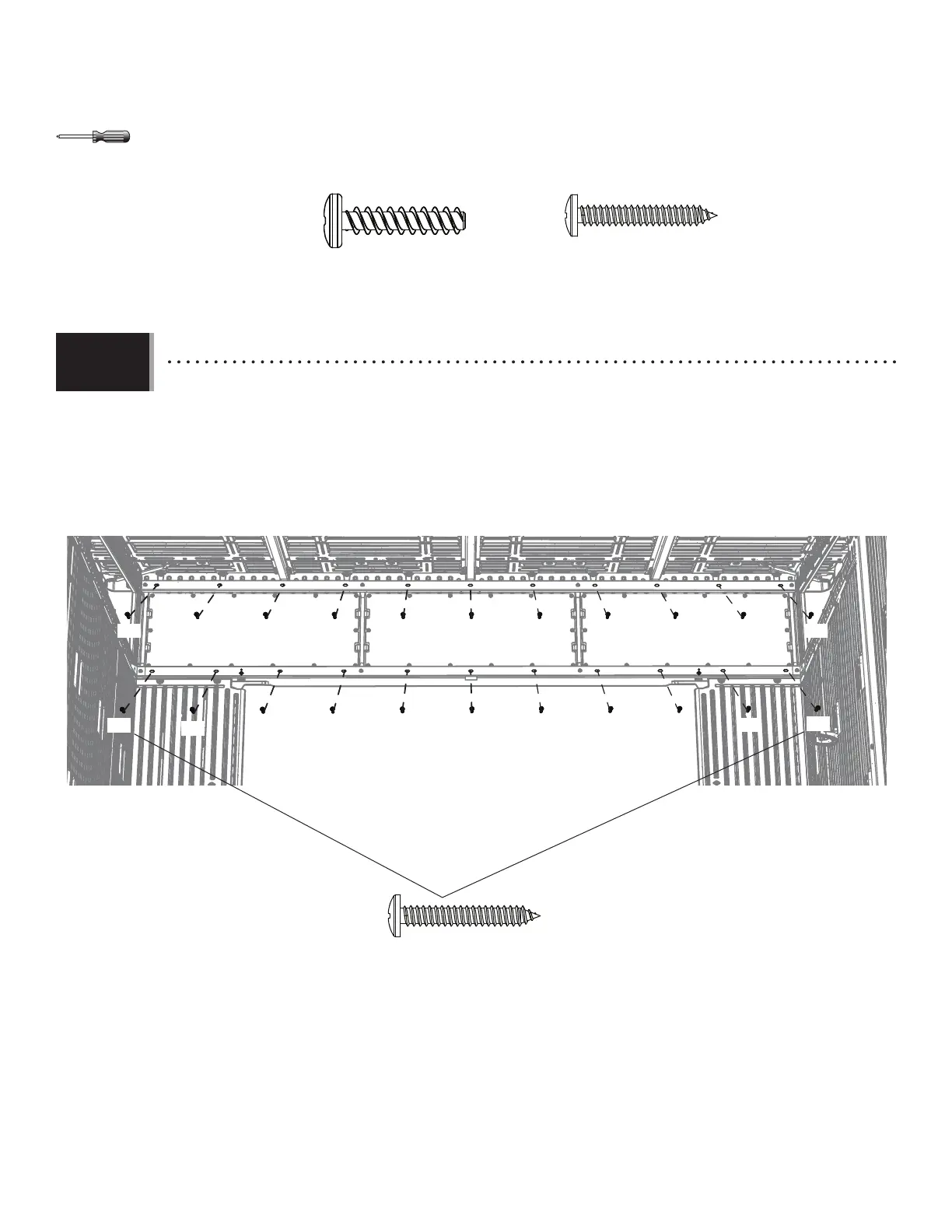
While another adult gently pushes against the outside of the transom, secure the metal transom frame to the transom using
twenty (20) screws (ADV) and two (2) screws (ACB) at the locations indicated. Do not overtighten.
Pendant qu’un autre adulte pousse doucement contre l’extérieur de l’imposte, bien attacher le cadre en métal de la traverse
à l’aide de vingt (20) vis (ADV) et deux (2) vis (ACB) aux endroits indiqués. Ne pas serrer excessivement.
Mientras que otro adulto empuja suavemente contra el exterior del travesaño, fi jar bien el armazón de metal del travesaño
usando veinte (20) tornillos (ADV) y dos (2) tornillos (ACB) a la ubicaciones indicadas. No apretar demasiado.
ADV
ADV
ADV
ADV
ADV ADV ADV
ADV
ADV ADV
ACB
ADV
ADV
ADV
ADV
ACB
ADVADV
ADVADVADV
ADV
ADV (x20)
ACB (x2)
ACB (x2)

Related product manuals