EasyManua.ls Logo

Lifetime 90240 - Page 28

Lifetime 90240
73 pages
Print Icon
To Next Page IconTo Next Page
To Next Page IconTo Next Page
To Previous Page IconTo Previous Page
To Previous Page IconTo Previous Page
Loading...
34
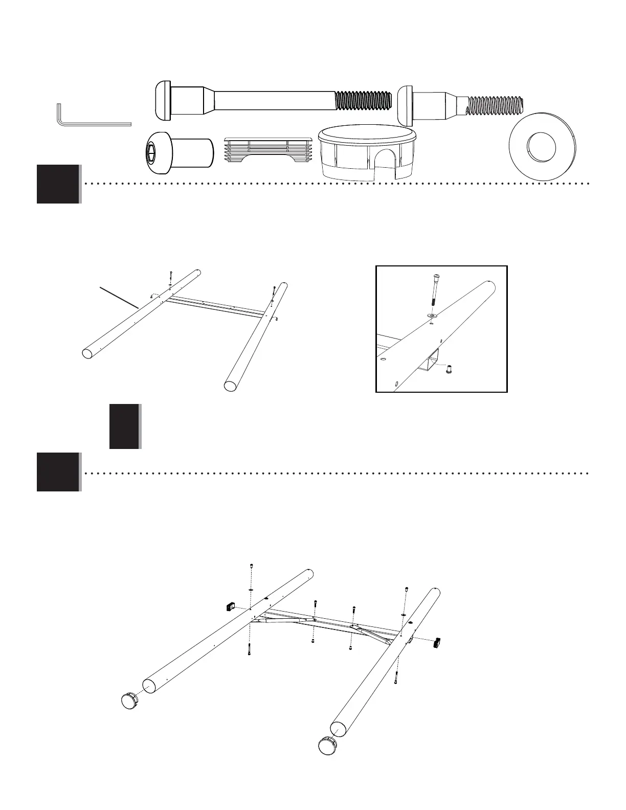
TOOLS AND HARDWARE REQUIRED
X SECTION 5 (CONTINUED)
Attach the Wall-side Deck Support (CBA) to the Left Vertical Pole (CBK) and Right Vertical Pole (CBJ) and secure with the
hardware indicated.
5.1
5.2
Attach two Cross Braces (CBP) to the Left Vertical Pole and Right Vertical Pole in the position indicated and secure
with the hardware shown.
BTS (x6)
DSA (x4)
DXY (x2)
AAF (x4)
EII (x2)
CBA
CBK
CBJ
Warning Sticker
Vignette
!
DSA
BTS
AAF
!
Make sure the fi ve small holes that run the length of each Vertical Pole are facing each other before completing this step.
CBP
CBP
DSA
DSA
DXY
DXY
BTS
BTS
BTS
BTS
EII
AAF
AAF
EII
ASV
ASV
ASV (x2)
3/16 in/po (≈5 mm)
(2)

Related product manuals