EasyManua.ls Logo

Lifetime BIG STUFF 91079 - Page 35

Lifetime BIG STUFF 91079
104 pages
Print Icon
To Next Page IconTo Next Page
To Next Page IconTo Next Page
To Previous Page IconTo Previous Page
To Previous Page IconTo Previous Page
Loading...
35
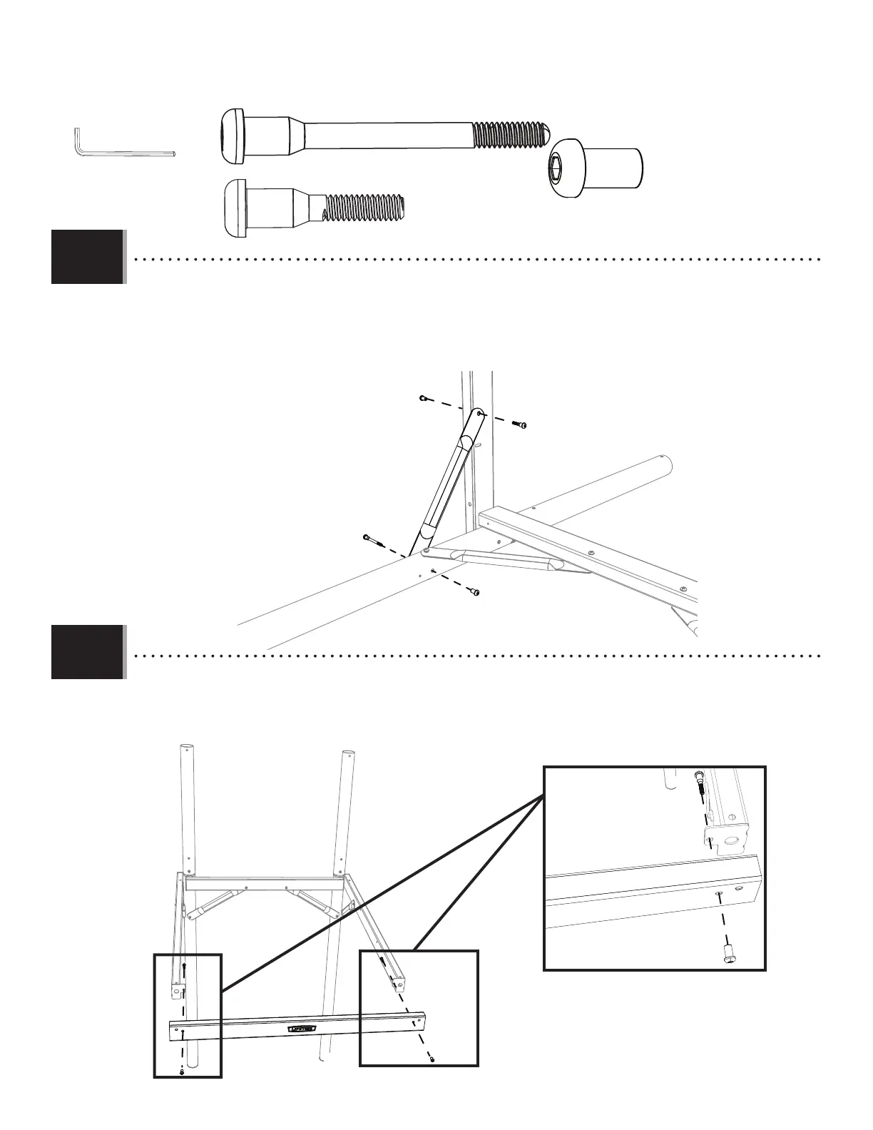
TOOLS AND HARDWARE REQUIRED / OUTILS ET QUINCAILLERIE REQUIS / INSTRUMENTAL Y HERRAJE REQUERIDOS
X SECTION 2 (CONTINUED) / SECTION 2 (SUITE) / SECCIÓN 2 (CONTINUACIÓN)
2.10
CBD
BTS
BTS
DXY
DSA
BTS (x4)
DSA (x1)
DXY (x3)
2.11
• Attach the deck support tube, swing-side (CBD) to the deck support assembly using the hardware indicated.
• Attachez le tuyau de support de plancher, côté balançoire (CBD) à l’assemblage de support plancher à l’aide de la
quincaillerie indiquée.
• Sujete el tubo de apoyo de la cubierta, lado del columpio (CBD) al conjunto de apoyo de la cubierta utilizando el herraje
indicado.
BTS
DXY
CBP
• Attach a cross brace (CBP) to the rails and secure between the deck support rail, net-side and the climbing wall
pole assemblies.
• Attachez unetraverse (CBP)aux rails et fi xez-la entre le rail de support de plate-forme, le côté du fi let et les
ensembles de poteaux de mur d’escalade.
• Fije un soporte cruzado (CBP) a los rieles y asegúrelo entre el riel del soporte de la cubierta, lateral de la red y
ensamblajes del poste del muro de escalada.
3/16 in/po (≈5 mm)
(2)

Related product manuals