EasyManua.ls Logo

LIMIT DM 620 - Continuity Test

LIMIT DM 620
232 pages
Print Icon
To Next Page IconTo Next Page
To Next Page IconTo Next Page
To Previous Page IconTo Previous Page
To Previous Page IconTo Previous Page
Loading...
10
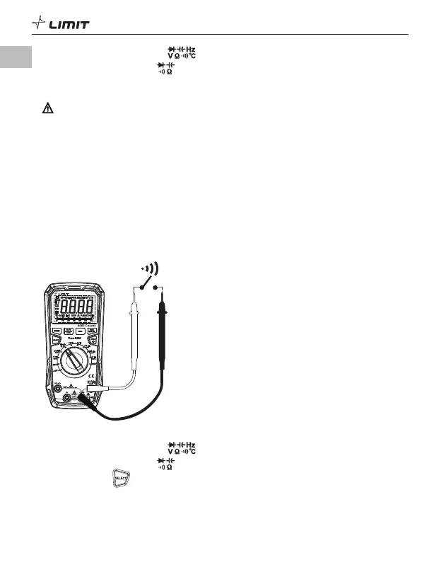
5.1 Insert the red test lead into the jack, and the black test lead into the COM jack.
5.2 Turn the function dial to the position.
5.3 Touch the probes to the test points in the circuit.
5.4 Read the resistance value on the display.
Caution:
Take care when working with voltages above AC 30 V RMS, 42 V peak or DC 60 V. Such voltages
pose a shock hazard.
If the measured resistor is open or the resistance exceeds the maximum range, the LCD will display
“OL”.
Before measuring resistance, switch off the power supply to the circuit, and fully discharge all
capacitors.
When measuring low resistance, the test leads will produce 0.1~0.3
Ω
measurement error. To obtain
an accurate measurement, short-circuit the test leads and use the relative value measurement (REL)
mode.
If the resistance is not less than 0.5
Ω
when the test leads are short-circuited, please check if the
test leads are loose or defective.
When measuring high resistance, it is normal to take a few seconds to stabilize the reading.
6. Continuity test (P 8)
DM 620
USB
P 8
6.1 Insert the red test lead into the jack, and the black test lead into the COM jack.
6.2 Turn the function dial to the position.
6.3 Short-press the button to switch to continuity test.
6.4 Touch the probes to the test points in the circuit.
6.5 Measured resistance <50
Ω
: The circuit has good continuity; the buzzer beeps continuously and the
green indicator light is on.
GB

Related product manuals