EasyManua.ls Logo

Lino PL2 TC2 V - Додатоци

Lino PL2 TC2 V
Print Icon
To Next Page IconTo Next Page
To Next Page IconTo Next Page
To Previous Page IconTo Previous Page
To Previous Page IconTo Previous Page
Loading...
MK
55
аните области се вклучуваат и исклучу-
ваат. Тоа е поради безбедносниот уред,
кој спречува стаклото да се пре грее.
Ова е нормално при високи тем-
ператури, не предизвикува никакво
оштетување на плочата и мало до-
цнење во времето потребно за готвење.
ПРЕДУПРЕДУВАЊЕ:
Никогаш не ракувајте со плочата
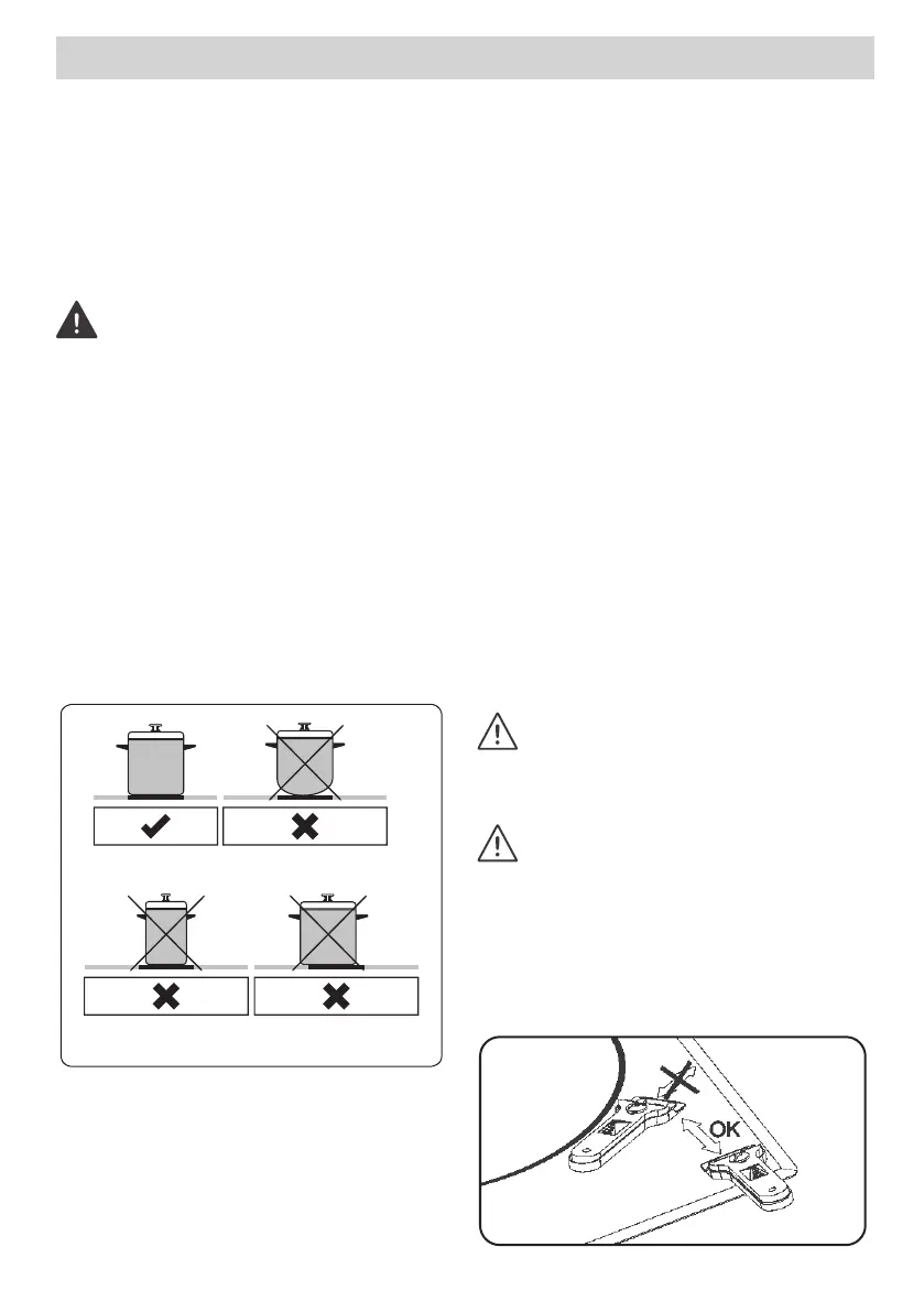
без тави на зоната за готвење.
Користете само рамни тави со до-
волно дебела основа.
Осигурајте се дека дното на тавата е
суво пред да го ставите на плочата.
Додека работи зоната за готвење,
важно е да се осигурате дека тавата
е центрирана правилно над зоната.
За да заштедите енергија, никогаш
не користете тава со поинаков дија-
метар од ринглата што се користи.
Кружна основа на
тенџерето
Основа на тенџерето
што не е наместена
Мал дијаметар на
тенџерето
Не користете тенџериња со грубо
дно бидејќи тие може да ја изгребат
стаклената керамичка површина.
Ако е можно, секогаш ставајте ка-
паци на тавите за да избегнете
губење на топлината.
Температурата на достапните делови
може да стане висока додека работи
уредот. Држете ги децата и животните
што подалеку од плочата за време на
работењето и сѐ додека целосно не
се изладила по работењето.
Ако забележите пукнатина на пло-
чата за готвење, таа веднаш мора
да се исклучи и да се замени од
страна на овластениот сервисер.
4.2 Додатоци
Шпатула за витро-керамичкото стакло
Секогаш користете ја шпатулата за
стакло за да ги отстранувате исте-
кувањата или наслагите од плочата
пред да се обидете со хемиски сред-
ства за чистење. Ова е идеален метод
за отстранување дури и на најмалите
наслаги од плочата и за отстранување
на истекувањата од жешките зони за
готвење пред да изгорат на плочата.
ВНИМАНИЕ:
Бидете внимателни при корис-
тење на шпатулата. Нејзиното сечиво
може да предизвика повреди!
ВНИМАНИЕ:
Ако неправилно ја употребувате
шпатулата, сечилото може да се скр-
ши. Ако тоа се случи, не обидувајте
се да го отстраните парчето со раце-
те, внимателно користете клешти или
тенок нож. (Видете на сл. 1)
Сл. 1

Table of Contents

Related product manuals