EasyManua.ls Logo

Lucent Technologies SLC 5 Series - Page 173

Lucent Technologies SLC 5 Series
508 pages
Print Icon
To Next Page IconTo Next Page
To Next Page IconTo Next Page
To Previous Page IconTo Previous Page
To Previous Page IconTo Previous Page
Loading...
363-205-401 Power Up: DLP-522
Issue 7, March 1997 Page 5 of 8
15.
NOTE:
Connectors are "keyed" and must be properly oriented to be connected.
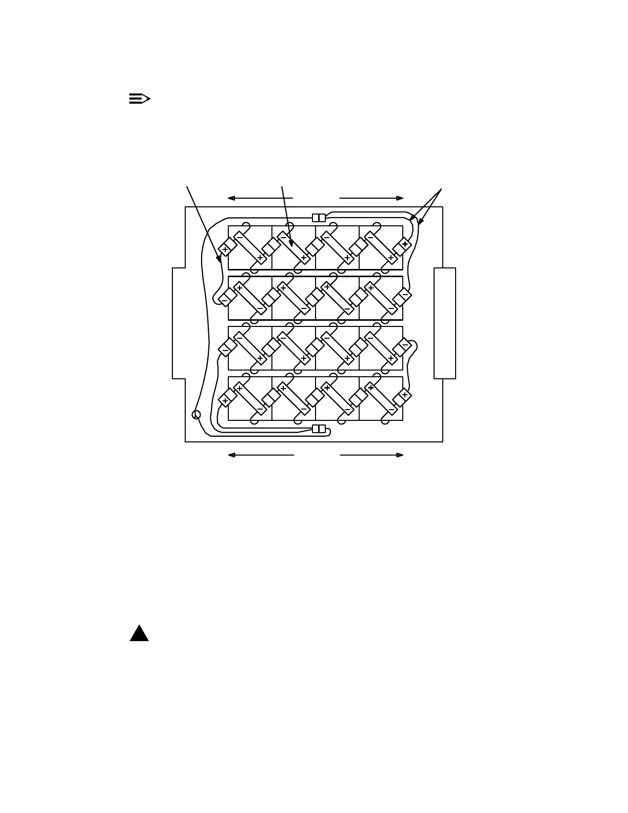
Connect patch cord [Figure 2] to
BAT (
)
connector of battery
5
.
Figure 2 – Chloride Battery String Connections and Position in 80A Cabinet
16. As shown in Figure 2, place batteries
5
through
8
(with cable assemblies) in
battery compartment in position for battery string 1 or 2.
17.
!
DANGER:
When connecting batteries together, be careful not to connect together
the positive and negative terminals of the same battery.
Connect batteries together by plugging
BAT (
)
connector from one battery
into
BAT (+)
connector from next battery [Figure 2].
BATTERY
BATTERY
BATTERY
PATCH
CABLE
STRING
BARRIER
4
6 78
1
5
CABLE
5
4
67
1
8
STRING 1
32
ASSEMBLY
STRING 2
3
2

Related product manuals