EasyManua.ls Logo

Lucent Technologies SLC 5 Series - Page 187

Lucent Technologies SLC 5 Series
508 pages
Print Icon
To Next Page IconTo Next Page
To Next Page IconTo Next Page
To Previous Page IconTo Previous Page
To Previous Page IconTo Previous Page
Loading...
Power Up: DLP-524 363-205-401
Page 6 of 8 Issue 7, March 1997
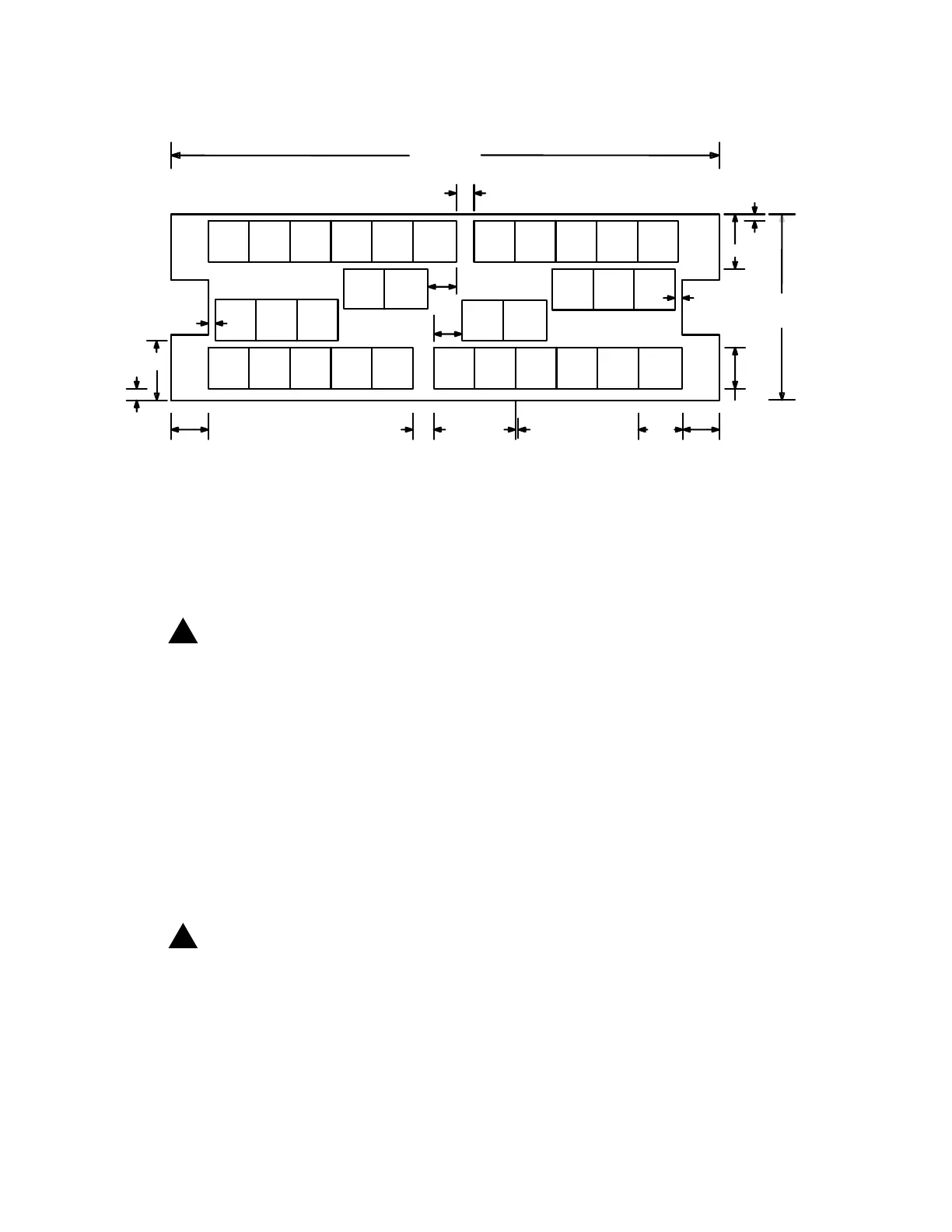
Figure 3 – Positions of RT Batteries in 80E Cabinet Battery Compartment
18.
!
DANGER:
When connecting batteries together, be careful not to connect together
the positive and negative terminals of the same battery.
Connect batteries together by plugging
BAT (
)
connector from one battery
into
BAT (+)
connector from next battery [Figure 2].
19. For battery string 1 or 3, place batteries
4
through
8
in positions shown in Fig-
ure 3. For battery string 2 or 4, place batteries
3
through
8
in position.
20. Connect other end of patch cord [Figure 2] to
BAT (+)
connector of battery
4
(or battery
3
for string 2 or 4).
21.
!
DANGER:
When connecting batteries together, be careful not to connect together
the positive and negative terminals of the same battery.
Connect batteries together by plugging
BAT (
)
connector from one battery
into
BAT (+)
connector from next battery [Figure 2]. Repeat for remaining bat-
teries in battery string.
7
+
-
+
8
-
6
-
6
-
1
-
+
+
STRING #4
+
-
21
+
-
7
+
-
5
-
+
-
8
+
4
+
-
+
-
+
+
2
5
-
-
+
-
6
6
STRING #3
+
1
+
+
-
5
7
+
-
3
-
0.38"
94" REF
3
+
+
4.0"
4.0"
-
-
0.38"
+
-
4
1
NOTE: DETAILS NOT SHOWN FOR CLARITY.
+
+
8
+
-
2
-
-
11"
3.0"
1.0"
1.0"
-
5
+
-
4
+
2
-
+
3
-
+
+
STRING #1
11"
REF
31"
1.0"
1.0"
-
+
-
+
3
4
0.25" TYPICAL
3.0"
-
REF.
7
STRING #2
REF
8.0"
-
+
7.75"
8

Related product manuals