EasyManua.ls Logo

Lucent Technologies SLC 5 Series - Page 321

Lucent Technologies SLC 5 Series
508 pages
Print Icon
To Next Page IconTo Next Page
To Next Page IconTo Next Page
To Previous Page IconTo Previous Page
To Previous Page IconTo Previous Page
Loading...
363-205-401 RT Turn Up: DLP-512
Issue 7, March 1997 Page 3 of 12
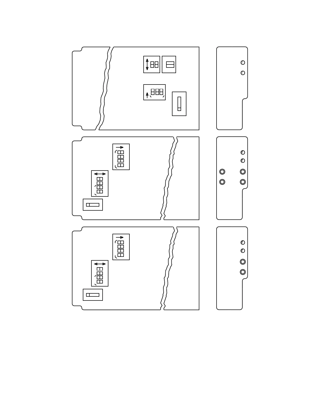
Figure 2 – AUA61B, AUA62B, and AUA64B LIU Option Switches
TRANS
(S400)
DB
F
Z
(S100)
210
O
N
R
L
B
(S700)
ENB
DIS
(S200)
R
A
T
E
3
2
6
4
(S200)
R
A
T
E
3
2
6
4
RCV
ZF
DB
1
2
(S100)
(S400)
TRANS
4321
ON
(NOTE 1)
(NOTE 1)
R
A
T
E
RCV
ZF
DB
1
2
(S100)
(S400)
TRANS
43
21
ON
(S200)
3
2
6
4
ARE ACCESSIBLE THROUGH HOLES IN THE DAUGHTER BOARD.
NOTE 1: AUA62B HAS A DAUGHTER BOARD. HOWEVER, S100 AND S400
-I
CLF
FAIL
-I
CLF
FAIL
AUA64B
+V
LIU
+I
+VV
AUA62B
AUA62B
CLF
FAIL
LIU
AUA61B
AUA61B
LIU
AUA64B
Lucent
Lucent
Lucent

Related product manuals