EasyManua.ls Logo

Lucent DDM-2000 OC-3 - Page 1044

Lucent DDM-2000 OC-3
1224 pages
Print Icon
To Next Page IconTo Next Page
To Next Page IconTo Next Page
To Previous Page IconTo Previous Page
To Previous Page IconTo Previous Page
Loading...
363-206-285 Detailed Level Procedure: DLP-546
Issue 2, February 2000 Page 20 of 20
DDM-2000 OC-3 MULTIPLEXER
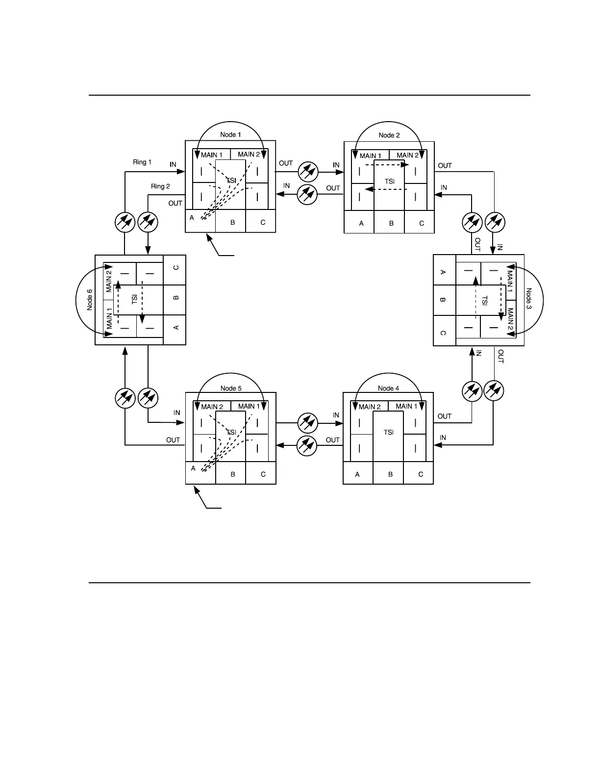
Figure 17 Path Protected Ring Network [LAN to LAN] (OC-3 with OC-12
Optics) with VT1.5 Cross-Connections
a-1-1 to m-1-1-1 and
a-1-2 to m-1-1-2
a-1-1 to m-1-1-1 and
a-1-2 to m-1-1-2
(ent-crs-vt1:a-1-1, m-1-1-1 and
)ent-crs-vt1:a-1-2, m-1-1-2
(ent-crs-vt1:a-1-1, m-1-1-1 and
)ent-crs-vt1:a-1-2, m-1-1-2
where:
where:
DS1
DS1
MXRVO
MXRVO
a-1-1 and a-1-2 = address of DS1 ports 1 and 2 in
a-1-1 and a-1-2 = address of DS1 ports 1 and 2 in
IMA LAN circuit pack in LOW SPEED GROUP A
IMA LAN circuit pack in LOW SPEED GROUP A
m-1-1-1 and m-1-1-2 = address of STS #1
m-1-1-1 and m-1-1-2 = address of STS #1 in
in MAIN OLIU, VTG #1, VT #1 and VT #2
MAIN OLIU, VTG #1, VT #1 and VT #2
m-1-1-1 to m-1-1-1 and
m-1-1-2 to m-1-1-2
pass through connections
m-1-1-1 to m-1-1-1 and
m-1-1-2 to m-1-1-2
pass through connections
m-1-1-1 to m-1-1-1 and
m-1-1-2 to m-1-1-2
pass through connections
m-1-1-1 to m-1-1-1 and
m-1-1-2 to m-1-1-2
pass through connections
m-1
m-12 m-12
m-12 m-12
m-1
m-1
m-1
m-1
m-12 m-12
m-12 m-12
m-1
m-1
m-1
m-1
m-12 m-12
m-12 m-12
m-1
m-1
m-1
m-1
m-12 m-12
m-12 m-12
m-1
m-1
m-1
m-1
m-12
m-12
m-12
m-12
m-1
m-1
m-1
m-1
m-12 m-12
m-12 m-12
m-1
m-1
m-1
Faceplate Connector
Passes Through
Undropped STSs
OC-12 Path Switched Ring with
OC-3 Shelves with OC-12 Optics