EasyManua.ls Logo

Lucent DDM-2000 OC-3 - Page 1045

Lucent DDM-2000 OC-3
1224 pages
Print Icon
To Next Page IconTo Next Page
To Next Page IconTo Next Page
To Previous Page IconTo Previous Page
To Previous Page IconTo Previous Page
Loading...
DLP-547: Detailed Level Procedure 363-206-285
Page 1 of 2 Issue 2, February 2000
DDM-2000 OC-3 MULTIPLEXER
DDM-2000 Receiver Sensitivity Test
1.
!
WARNING:
Unterminated optical connectors may emit invisible laser radiation. Avoid
direct exposure to the beam. Do not view beam with optical instruments.
Use of controls or adjustments or performance of procedures other than
those specified herein may result in hazardous radiation exposure.
!
CAUTION:
Take care to avoid damaging LEDs that protrude through opening in
faceplate of
OLIU
.
!
CAUTION:
Avoid excessive bending of optical jumper and cables.
!
CAUTION:
All optical fiber connectors, couplings, and buildouts should be properly
cleaned [
DLP-527
]. Signal performance may be degraded if connectors,
couplings, or buildouts are not cleaned properly.
NOTE:
It may take from 15 seconds to 3 minutes and 25 seconds for FAULT
LEDs to stop flashing, depending on setting of signal degrade threshold
(–5 to –9).
NOTE:
This test may be accomplished with one shelf by simply using an optical
loopback after the optical splitter.
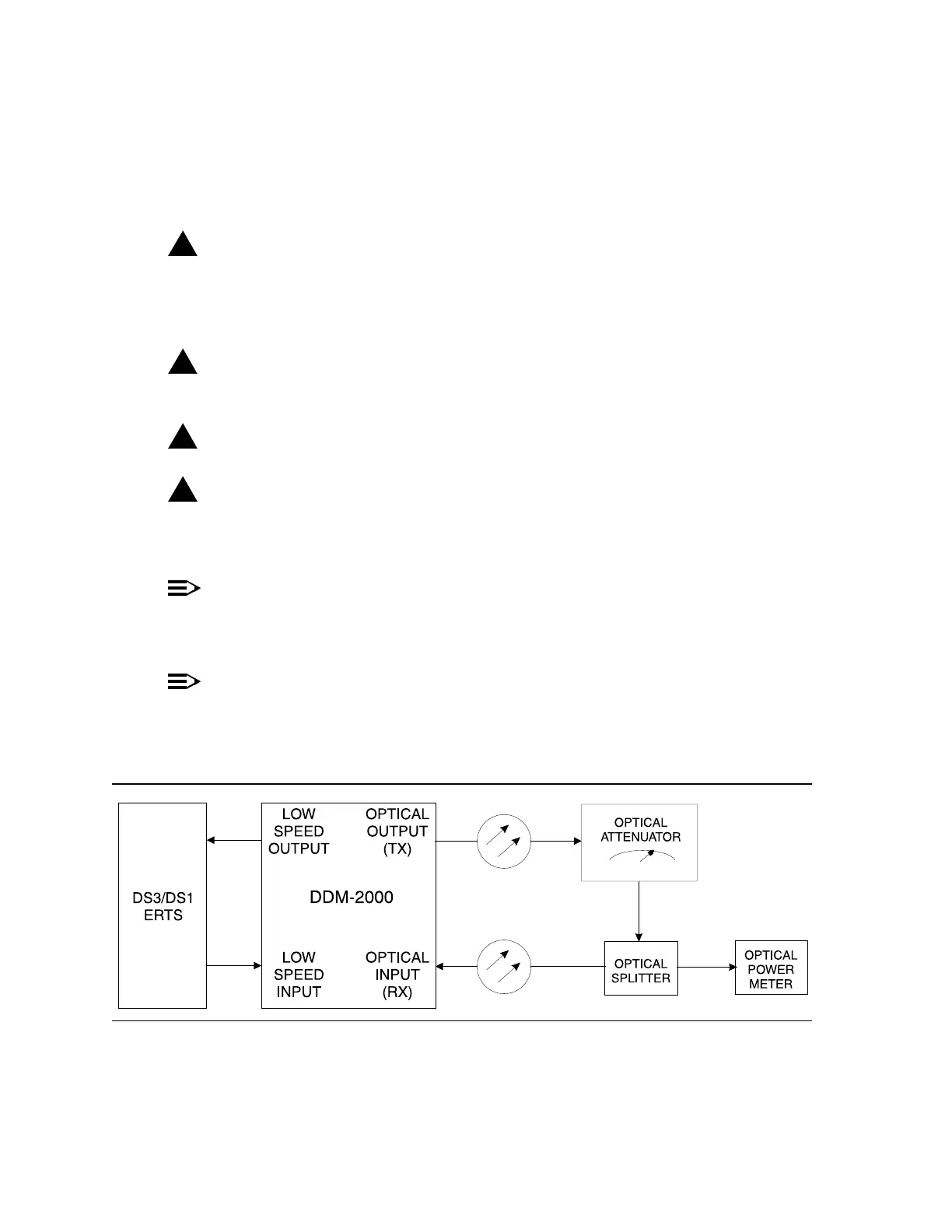
Configure the DDM-2000 shelf and test equipment as shown in Figure 1.
Figure 1 DDM-2000 Receiver Sensitivity Test Configuration