EasyManua.ls Logo

Lucent DDM-2000 OC-3 - Page 1136

Lucent DDM-2000 OC-3
1224 pages
Print Icon
To Next Page IconTo Next Page
To Next Page IconTo Next Page
To Previous Page IconTo Previous Page
To Previous Page IconTo Previous Page
Loading...
DLP-557: Detailed Level Procedure 363-206-285
Page 12 of 22 Issue 2, February 2000
DDM-2000 OC-3 MULTIPLEXER
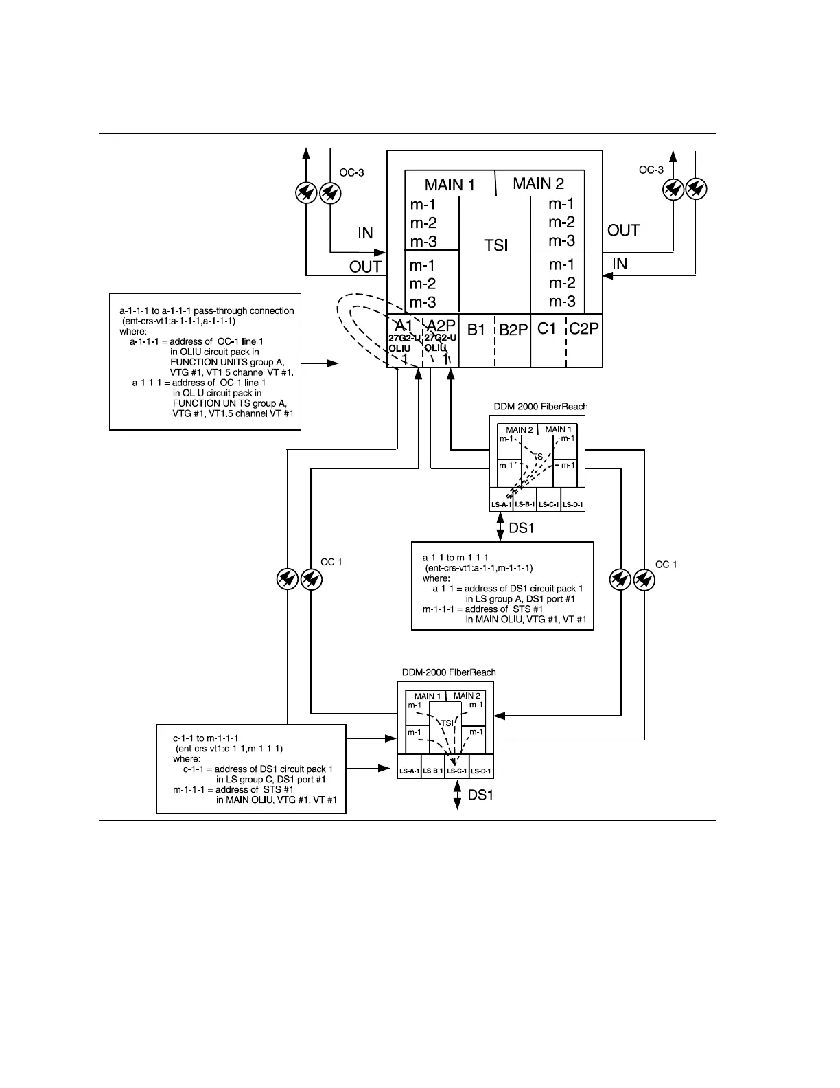
Figure 8 Example of Dual Homing Intra-Function Unit OC-3/OC-1
Cross-connections