EasyManua.ls Logo

Lucent DDM-2000 OC-3 - Page 1153

Lucent DDM-2000 OC-3
1224 pages
Print Icon
To Next Page IconTo Next Page
To Next Page IconTo Next Page
To Previous Page IconTo Previous Page
To Previous Page IconTo Previous Page
Loading...
363-206-285 Detailed Level Procedure: DLP-558
Issue 2, February 2000 Page 7 of 8
DDM-2000 OC-3 MULTIPLEXER
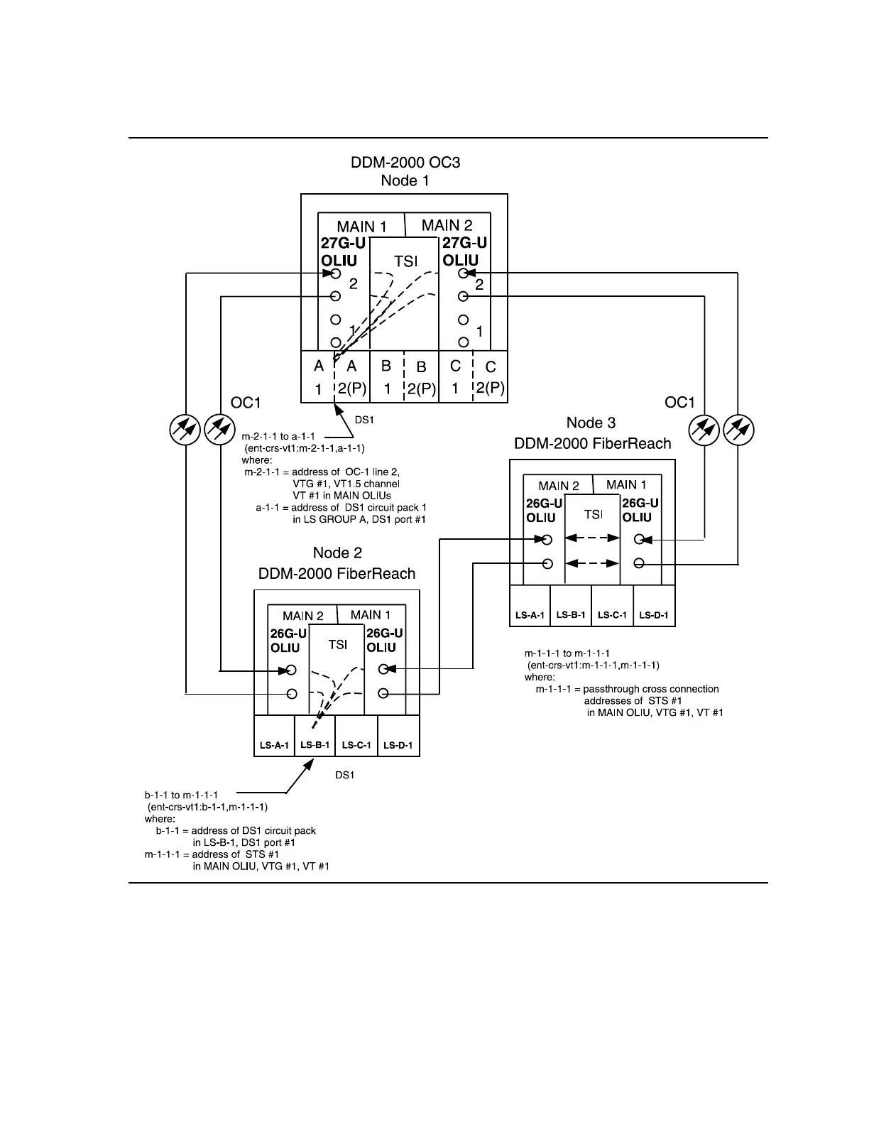
Figure 5 Example of Stand Alone OC-3/OC-1 Cross-connections