EasyManua.ls Logo

Lucent DDM-2000 OC-3 - Page 1163

Lucent DDM-2000 OC-3
1224 pages
Print Icon
To Next Page IconTo Next Page
To Next Page IconTo Next Page
To Previous Page IconTo Previous Page
To Previous Page IconTo Previous Page
Loading...
DLP-559: Detailed Level Procedure 363-206-285
Page 9 of 12 Issue 2, February 2000
DDM-2000 OC-3 MULTIPLEXER
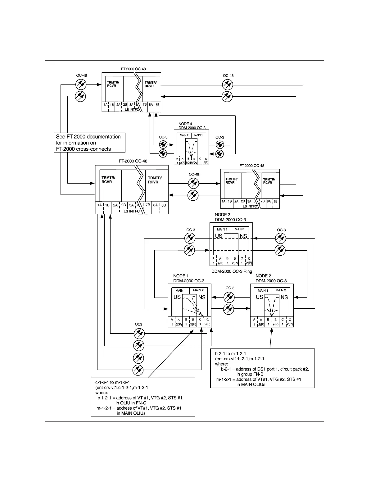
Figure5–ExampleofFT-2000withOC-3ExtensionstoOC-3Ring
Cross-connections