EasyManua.ls Logo

Lufft V200A-UMB - Page 17

Default Icon
76 pages
Print Icon
To Next Page IconTo Next Page
To Next Page IconTo Next Page
To Previous Page IconTo Previous Page
To Previous Page IconTo Previous Page
Loading...
Operating Manual V25/09.2019
Ventus / Ventus-X / V200A
Chapter 9 Installation 17
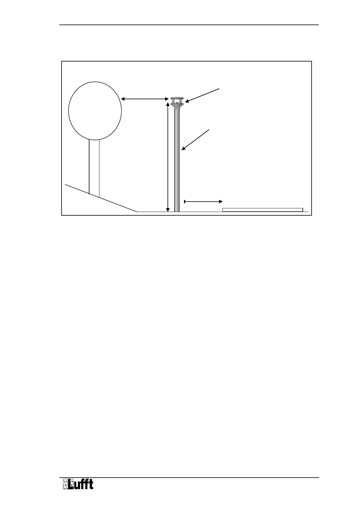
9.3.3 Installation Sketch
Road carriageway
min. 10 m
min. 2 m
Ventus
Mast
min. 10 m
Tree, bush
etc.
Figure 6 Installations Sketch

Related product manuals