EasyManua.ls Logo

Lutron Electronics PM-9102 - 3 Front Panel Description; Display; Power Off;On Button; Hold Button

Lutron Electronics PM-9102
10 pages
Print Icon
To Next Page IconTo Next Page
To Next Page IconTo Next Page
To Previous Page IconTo Previous Page
To Previous Page IconTo Previous Page
Loading...
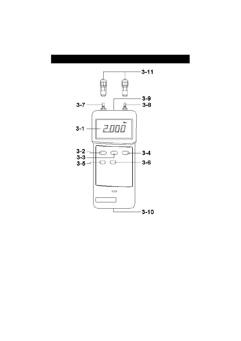
3. FRONT PANEL DESCRIPTION
Fig. 1
3-1 Display 3-7 P1 input socket
3-2 Power Off/On Button 3-8 P2 input socket
3-3 Hold Button 3-9 RS-232 Output
3-4 Zero Button Terminal
3-5 " MAX./MIN. " Button 3-10 Battery Compartment
3-6 Unit Button /Cover
3-11 Plug/ quick coupler
4