EasyManua.ls Logo

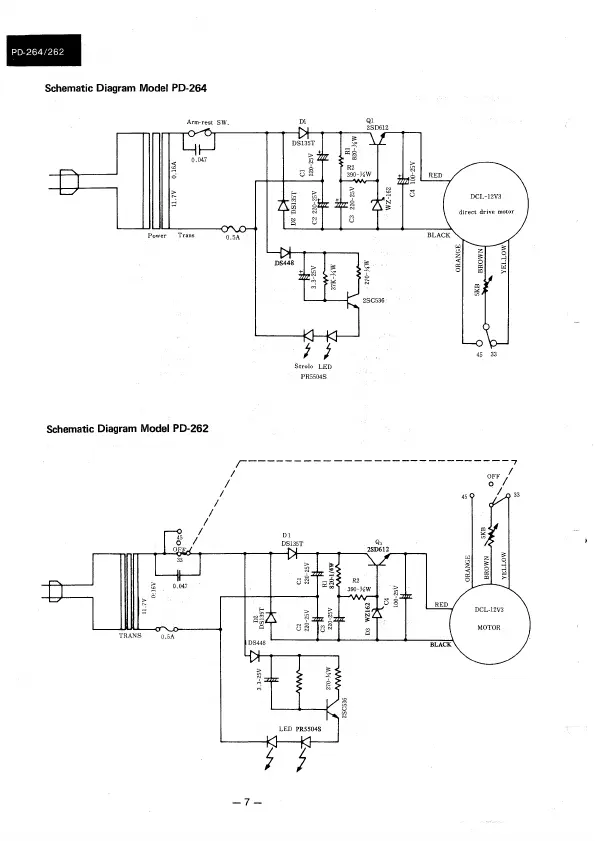
Luxman PD264 - Schematic Diagrams; Schematic Diagram Model PD-264; Schematic Diagram Model PD-262

Luxman PD264
8 pages
Print Icon
To Next Page IconTo Next Page
To Next Page IconTo Next Page
To Previous Page IconTo Previous Page
To Previous Page IconTo Previous Page
Loading...

Related product manuals