EasyManua.ls Logo

Luxor Flat Panel Series - Installation of Mounting Interface

Luxor Flat Panel Series
12 pages
Print Icon
To Next Page IconTo Next Page
To Next Page IconTo Next Page
To Previous Page IconTo Previous Page
To Previous Page IconTo Previous Page
Loading...
7 / 12
4
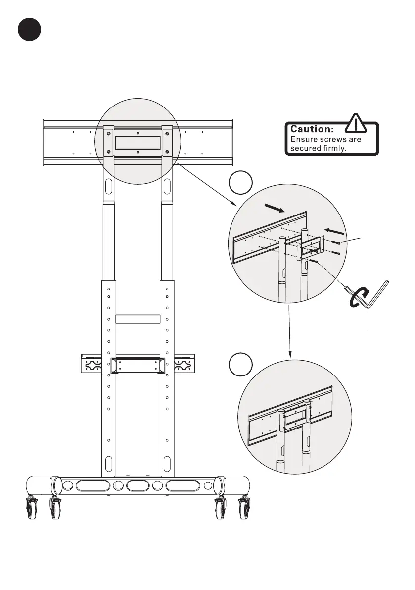
Installation of interface
1
2
H
G
J
C2x4
E2

Related product manuals