EasyManua.ls Logo

LyxPro SPA-12BAT - System Controls and Connections; USB;SD;Bluetooth Media Player Controls; Volume and Tone Adjustment; Microphone and Auxiliary Inputs

LyxPro SPA-12BAT
3 pages
Print Icon
To Next Page IconTo Next Page
To Next Page IconTo Next Page
To Previous Page IconTo Previous Page
To Previous Page IconTo Previous Page
Loading...
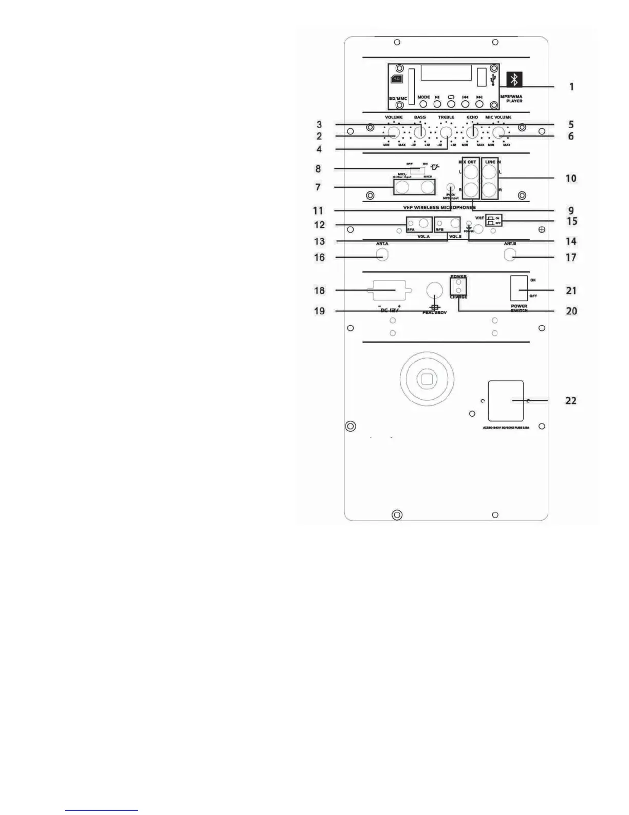
Location of Controls
1. USB Playback
a. MODE Exchange between USB / SD /
BLUETOOTH /REMOTE CONTROL
b. BLUETOOTH
c. Play/Pause
d. Repeat
e. Last
f. Next
2. Volume: Control master sound level
3. Volume: Bass level control
4. Volume: Treble level control
5. Volume: Echo level control
6. Volume: Mic. level control
7. MIC 1 /GUITAR / MIC 2 input
8. VCV Voice control volume switch to control the
priority for Mic.
9. Left / Right Mic. output
10. Left/ Right Line input
11. Aux input
12. Indicator light for wireless mic A / Volume control for
wireless mic A
13. Indicator light for wireless mic B / Volume control for
wireless mic B
14. Indicator light for VHF power
15. Switch to control the VHF
16. Antenna for wireless mic. A
17. Antenna for wireless mic. B
18. DC 12V input
19. F6AL 250V fuse
20. Light indicator for battery charge
21. Power switch: Switch the unit on / off
22. Main supply input: Connect an IEC main power cable in order
to power the unit through electrical outlet connection.
Operations Overview
Charging the battery
When not in use but connected to the main power supply, if the POWER switch is in the off position, the internal battery
will be re-charged from the main. This is indicated by the CHARGE LED, which lights when charging.
When fully charged, the CHARGE LED will go out.
Powering the Unit On
Turn the VOLUME, ECHO and MIC VOLUME controls down and turn the POWER switch to the on position (the power LED
will light).
Switch VCV (voice controlled volume) off.
Using the VHF Wireless Microphones
1. Insert 9V batteries into the handheld microphones by carefully unscrewing the base of each one and connecting the “+” and “-
terminals of the battery to the corresponding clips inside the microphone body. Make sure to observe the correct polarity.
2. With the VOL A and VOL B controls turned down, press the VHF ON/OFF button in so that the VHF POWER LED lights. Switch on
each wireless mic in turn – the RF LEDs will light as a result.
3. Gradually increase VOL controls, testing each microphone in turn for output through the speaker.
4. Turning the ECHO control clockwise adjusts a pre-set echo function for singing and special effects. BASS and TREBLE can be
cut or lowered by turning counter-clockwise or increased by turning clockwise.
5. When not in use, switch the wireless microphones off.
2