EasyManua.ls Logo

mabe MMI09CDBWCCC8 - Electrical Connections; Connecting Indoor;Outdoor Electric Cable

mabe MMI09CDBWCCC8
Print Icon
To Next Page IconTo Next Page
To Next Page IconTo Next Page
To Previous Page IconTo Previous Page
To Previous Page IconTo Previous Page
Loading...
80
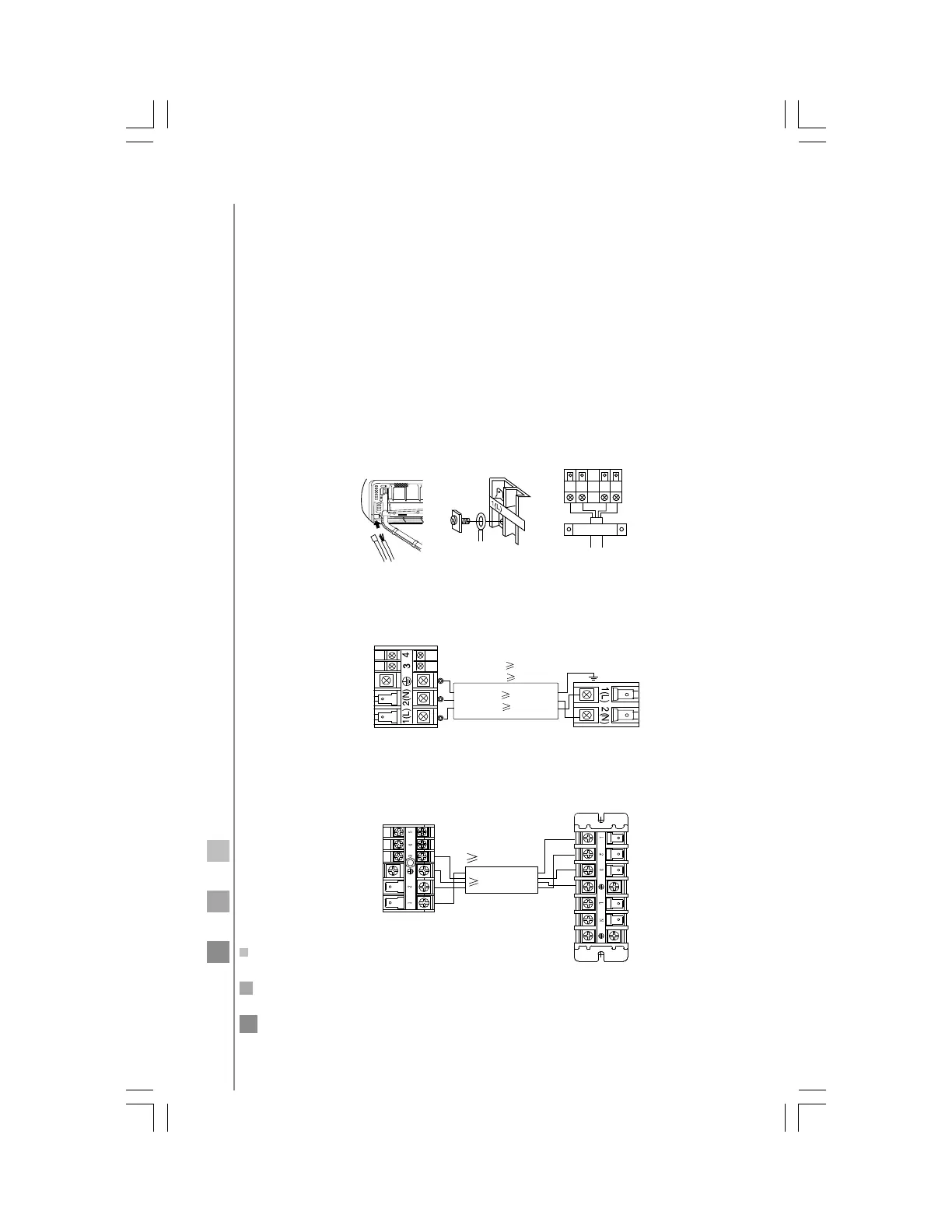
connecting the indoor/outdoor electric cable
1. Remove terminal cover at right bottom corner of indoor unit,
then take off wiring cover by removing its screws.
2. Insert from outside the room cable into left side of the wall hole,
in which the pipe has already existed.
3. Pull out the cable on the front side, and connect the cable making
a loop.
4. Insert the cable from the back side of the unit, then pull it out on
the front side.
5. Loosen the screws and insert the cable ends fully into terminal
block, then tighten the screws.
6. Pull the cable slightly to make sure the cables have been properly
inserted and tightened.
7. After the cable connection, never fail to fasten the connected
cable with the wiring cover.
Note: When connecting the cable, confirm the terminal number of
indoor and outdoor units carefully. If wiring is not correct, proper
operation can not be carried out and will cause defect.
In 9 000 BTU/h, 12 000 BTU/h, 18 000 BTU/h and some 24 000 BTU/h
systems
In some 24 000 BTU/h systems
Indoor Unit Outdoor Unit
Power cable:
-mod 07-12 3G1.0 mm²
-mod 18 3G2.5 mm²
-mod 07-12 3G1.0 mm²
-mod 18 3G2.5 mm²
Indoor Unit
Outdoor Unit
Power cable:
3G2.5 mm²
4G0.75 mm²
NOTE: Consult the electrical wiring diagram for each particular
model.

Related product manuals