EasyManua.ls Logo

mabe MMT09CABWCCCHI8 - Page 38

mabe MMT09CABWCCCHI8
Print Icon
To Next Page IconTo Next Page
To Next Page IconTo Next Page
To Previous Page IconTo Previous Page
To Previous Page IconTo Previous Page
Loading...
38
Unidad interna
Terminal
Unidad externa
Terminal
Indoor unit
Terminal
Outdoor unit
Terminal
1L
L
N
Terminal
Suministro de energía
1L
L
N
L
N
3L
2L
1L
L
N
3L
2L
1L
L
N
L
N
Gris
Café
Negro
Amarillo/Verde
Cordón de conexión
al suministro
Gris
Café
Negro
Amarillo/Verde
Cordón de conexión
al suministro 1
Cordón de conexión
al suministro
Café
Azul
Gris
Café
Negro
Amarillo/Verde
Café
Azul
Gris
Café
Negro
Amarillo/Verde
Terminal
Suministro de energía
Unidad interna
Terminal
Unidad externa
Terminal
3L
2L
1L
L
N
3L
2L
1L
L
N
R
S
T
N
Cordón de conexión
a la energía 1
Cordón de conexión
a la energía
Café
Azul
Gris
Café
Negro
Amarillo/Verde
Café
Azul
Gris
Café
Negro
Amarillo/Verde
Terminal
Suministro de energía
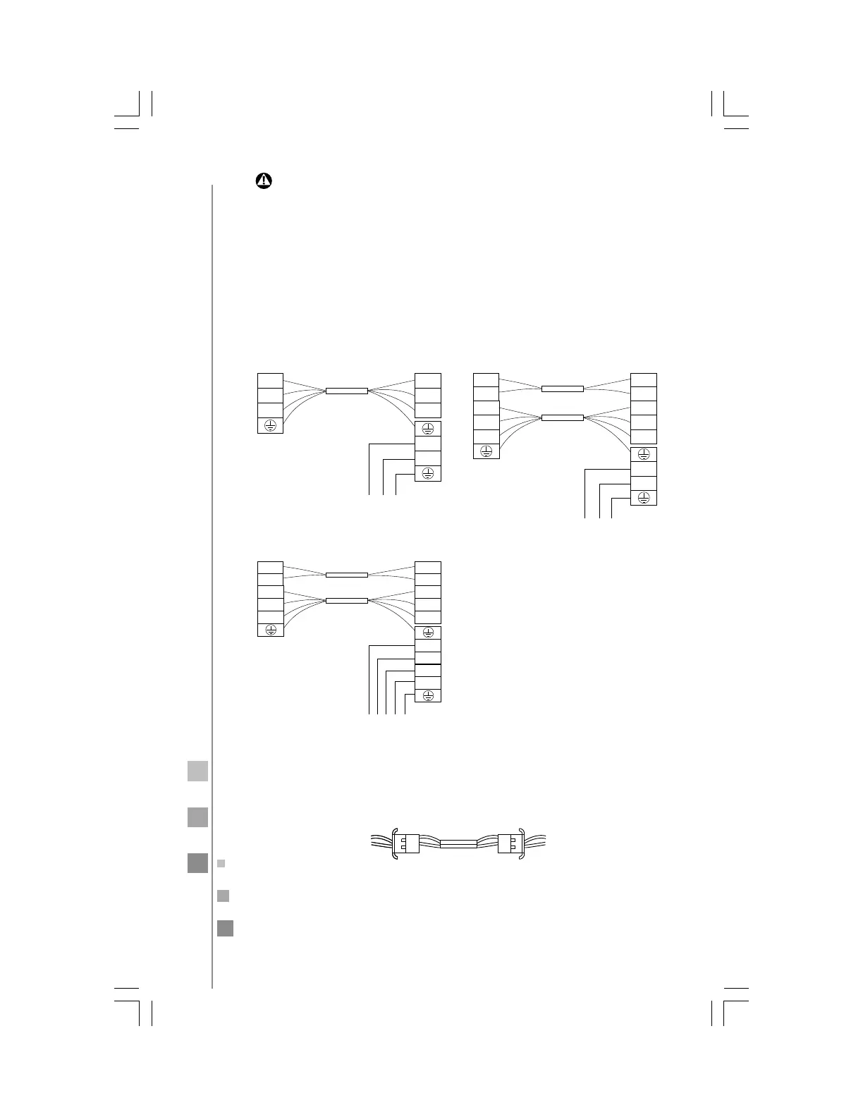
ADVERTENCIA: ANTES DE OBTENER ACCESO A
LAS TERMINALES, DEBEN DESCONECTARSE TO-
DOS LOS CIRCUITOS DE SUMINISTRO.
Nota: Todos los cables pueden ser de colores diferentes. Los indica-
dores "1L", "2L", "3L" podrían ser "4", "5", "6" u otros y la termi-
nal podría ser diferente.
modelos de 24 000 a 36 000 BTU/h
Para estos modelos, el suministro de energía se conecta desde la unidad externa, con un
disyuntor de circuitos. Todos los cables pueden ser de colores diferentes.
Cable de deshielo (opcional y solamente en modelos equipados
con bomba de calor).
Cable de deshielo
(unidad interna)
Sensor
(unidad externa)
Después de la conexión, el cable de deshielo debe envolverse bien
con cinta para envolver y el conector debe colocarse dentro de la
unidad.

Related product manuals