EasyManua.ls Logo

mabe MMT09CABWCCCHI8 - Page 89

mabe MMT09CABWCCCHI8
Print Icon
To Next Page IconTo Next Page
To Next Page IconTo Next Page
To Previous Page IconTo Previous Page
To Previous Page IconTo Previous Page
Loading...
89
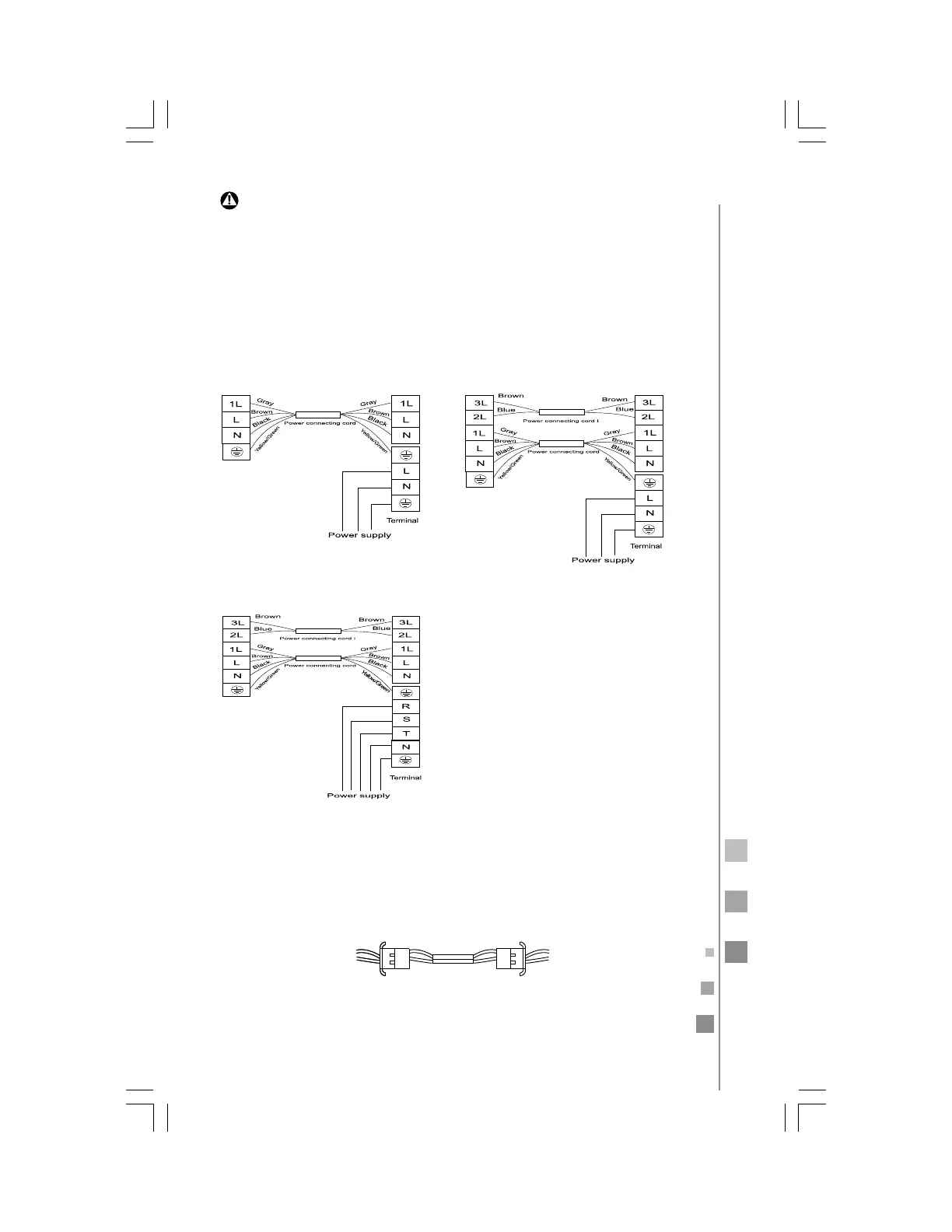
Indoor unit
Terminal
Outdoor unit
Terminal
Indoor unit
Terminal
Outdoor unit
Terminal
24000 to 36000 BTU/h models
WARNING: BEFORE OBTAINING ACCESS TO THE
TERMINALS, ALL SUPPLY CIRCUITS MUST BE DIS-
CONNECTED.
Note: All the wires may be different colors. The indicators "1L" "2L" "3L"
may be "4", "5", "6" or others, and the terminal may be defferent from the
material object.
Indoor unit
Terminal
Outdoor unit
Terminal
For these models, the power supply should be connected from outdoor unit,
with a circuit breaker.
All the wires may be different colors.
• Defrost cable (on heat-pump air models only. It is an optional
part).
After connection, the defrost wire should be well wrapped using a
wrapping tape, and the connector should be placed inside the
unit.
Defrost wire
(indoor)
Sensor
(outdoor)

Related product manuals