EasyManua.ls Logo

MAC TOOLS EM721 - Page 54

MAC TOOLS EM721
246 pages
Print Icon
To Next Page IconTo Next Page
To Next Page IconTo Next Page
To Previous Page IconTo Previous Page
To Previous Page IconTo Previous Page
Loading...
MACTOOLS.COM
54
To get the actual gures for a specic coil, check the manufacturer’s specications.
NOTE: Test the ignition coil both when it is hot and when it is cold.
Condensers/Capacitors Leakage Test
This meter can be used to check automotive condensers (capacitors) using the Resistance function. Since
the Resistance function applies a voltage across the test leads, the condenser charges up and the displayed
resistance increases to innity. Any other reading indicates that you should replace the condenser.
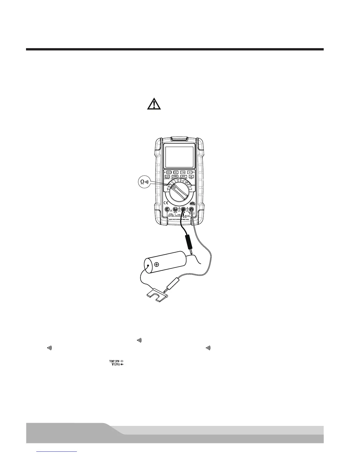
CAUTION
BEFORE PERFORMING THIS TEST, MAKE SURE THAT IGNITION SYSTEM IS OFF AND ALL WIRES
CONNECTED TO THE COILS ARE DISCONNECTED.
Condenser
Red
Black
Meter setup to check condenser leakage:
Set the rotary switch to resistance (Ω ) setting.
If “ ” is present on the display, press the “DWL” button until “ ” disappears.
Insert the black lead in the “COM” jack.
Insert the red lead in the “ ” jack.
Connect:
Black test probe to the negative (-) side of the condenser.
Red test probe to the positive (+) side of the condenser.

Related product manuals