EasyManua.ls Logo

MAC TOOLS EM721 - Page 60

MAC TOOLS EM721
246 pages
Print Icon
To Next Page IconTo Next Page
To Next Page IconTo Next Page
To Previous Page IconTo Previous Page
To Previous Page IconTo Previous Page
Loading...
MACTOOLS.COM
60
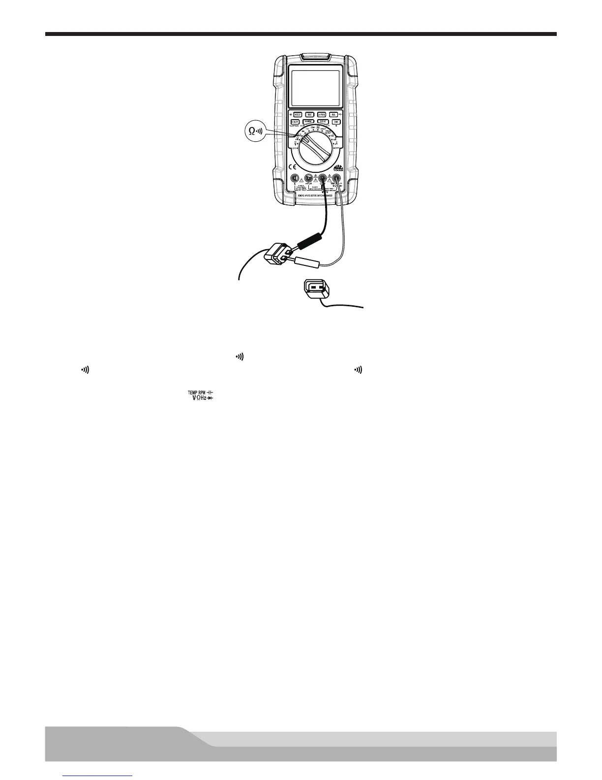
Thermistor Resistance Change Test
Black
Red
Meter setup to check resistance change of thermistors:
Set the rotary switch to resistance (Ω ) setting.
If “ ” is present on the display, press the “DWL” button until “ ” disappears.
Insert the black lead in the “COM” jack.
Insert the red lead in the “ ” jack.
Disconnect the sensor connector.
Connect:
Black test probe to the negative (-) terminal of the sensor.
Red test probe to the positive (+) terminal of the sensor.
Resistance reading should match the temperature of the sensor.
NOTE: Refer to the manufacturer’s specications for resistance vs temperature for the sensor.
Temperature can be checked using the previous procedure.

Related product manuals