EasyManua.ls Logo

Mackie 408M - Safety Test Procedure; Leakage Test Protocol; Fusible Resistor Replacement Warning

Mackie 408M
20 pages
Print Icon
To Next Page IconTo Next Page
To Next Page IconTo Next Page
To Previous Page IconTo Previous Page
To Previous Page IconTo Previous Page
Loading...
13
WARNING: FUSIBLE RESISTORS MUST ONLY BE REPLACED BY THE EXACT REPLACEMENT PARTS.
ALWAYS CHECK THE PARTS LISTS TO VERIFY WHICH RESISTORS ARE THE FUSIBLE TYPE
BEFORE REPLACING ANY RESISTORS IN THIS AMPLIFIER.
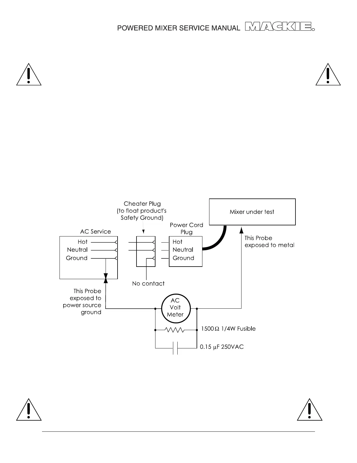
You must perform the following leakage test before returning the mixer to your customer.
Take every safety precaution to protect yourself while doing this test.
1. Make a small loading RC circuit as shown in the diagram below, and connect
the AC volt meter between the AC power source ground and any exposed metal
on the unit under test.
2. Connect the mixer under test to an AC power source using a ground-lift adaptor,
leaving the mixer’s safety ground floating. Turn the mixer on.
3. The meter reading should be less than 750mVAC (note: this is equivalent to 0.5mA
of leakage current).
4. Flip the plug over in the receptical so the hot and neutral are swapped.
Verify that the reading is still less then 750mVAC.
5. If either reading is greater than 750mVAC, then you must investigate and repair
the mixer before returning it to your customer.
Safety test

Related product manuals