EasyManua.ls Logo

Magswitch 8110178 - Page 2

Default Icon
2 pages
Print Icon
To Previous Page IconTo Previous Page
To Previous Page IconTo Previous Page
Loading...
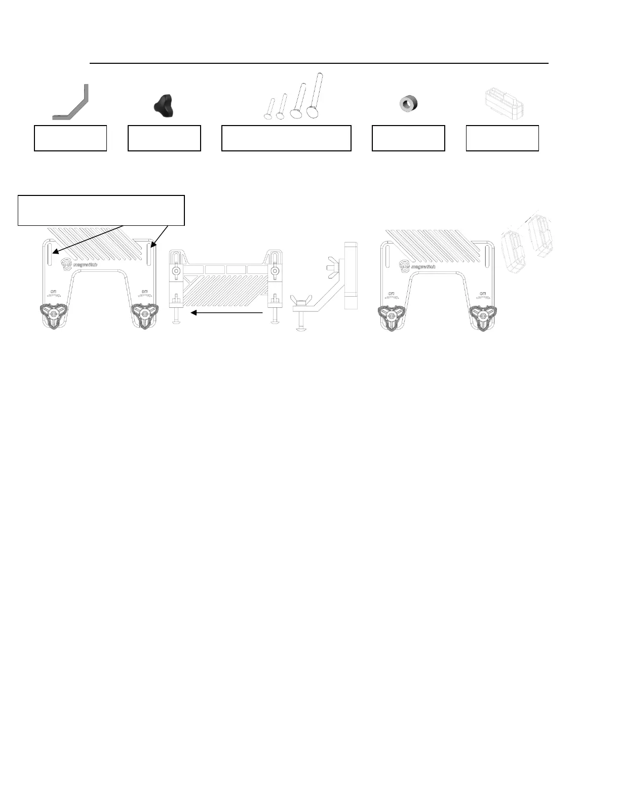
Magswitch Vertical Attachment Parts list and Assembly Guide
Vert Attach Instructions
Revision Date, March 16, 2009
2-90°
Support Brackets
Triad Knobs
2-large. 4-small
Carriage Bolts
2 1 ¼”, 2-1 ½”, 2-3”, 2-4”
2-Nylon Spacers
4-Riser Blocks
Feed direction
Slots to add Vertical Attachment
or Stackable Featherboard.
Magswitch Limited Warranty
Magswitch products are covered by a One Year Limited Warranty on Material and Workmanship. Warranty is Non-Transferable.
Magswitch reserves the right to inspect all product claims under warranty. Any alteration of the device voids this warranty.
User assumes all risk for the proper use of this device and for ensuring product suitability for intended application.
This warranty shall not cover any incidental or consequential damages due to the improper use or failure of this device.
All Magswitch products are covered under International and U.S. Patents 6,707,360 & 7,012,495. Add’l patents pending.

Related product manuals