EasyManua.ls Logo

Manitowoc IYT1200C - Condensing Units

Manitowoc IYT1200C
212 pages
To Next Page IconTo Next Page
To Next Page IconTo Next Page
To Previous Page IconTo Previous Page
To Previous Page IconTo Previous Page
Loading...
Part Number: 000015431 Rev01 5/19 125
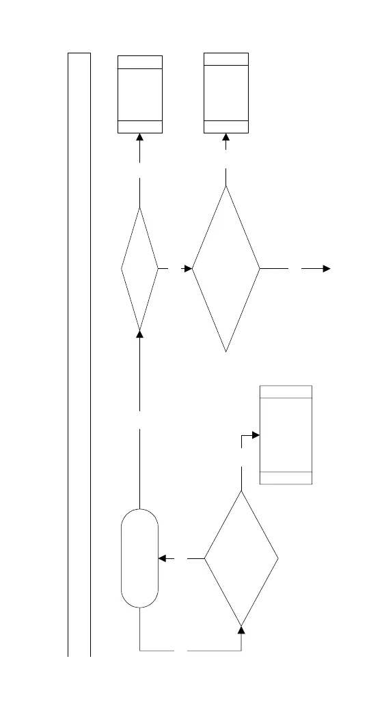
SYMPTOM #4 QUIETQUBE® MODELS WITH CVD CONDENSING UNITS
START
Back of cubes are melted at
end of harvest cycle?
Ice remains frozen to the
evaporator at the end of the
harvest cycle?
Refer To Symptom
#2 Freeze Cycle
Operaon Analysis
Table
Is water flow over the evaporator in
the harvest cycle?
Is Ice Machine level?
Level Ice
Machine
Refer to Dump
Valve
Diagnoscs
YES
YES
YES
NO
NO
NO
NO
YES
Ice Machine Will Not Harvest - Freeze Cycle Is Normal and Ice Cubes Are Melted Aer Harves
t

Table of Contents

Other manuals for Manitowoc IYT1200C

Related product manuals