EasyManua.ls Logo

Manitowoc SY0324A - Removing Drain Plug and Leveling the Ice Storage bin; Air-Cooled Baffle

Manitowoc SY0324A
56 pages
To Next Page IconTo Next Page
To Next Page IconTo Next Page
To Previous Page IconTo Previous Page
To Previous Page IconTo Previous Page
Loading...
Installation Instructions Section 2
2-8 Part Number 80-1620-3
Removing Drain Plug and Leveling the Ice
Storage Bin
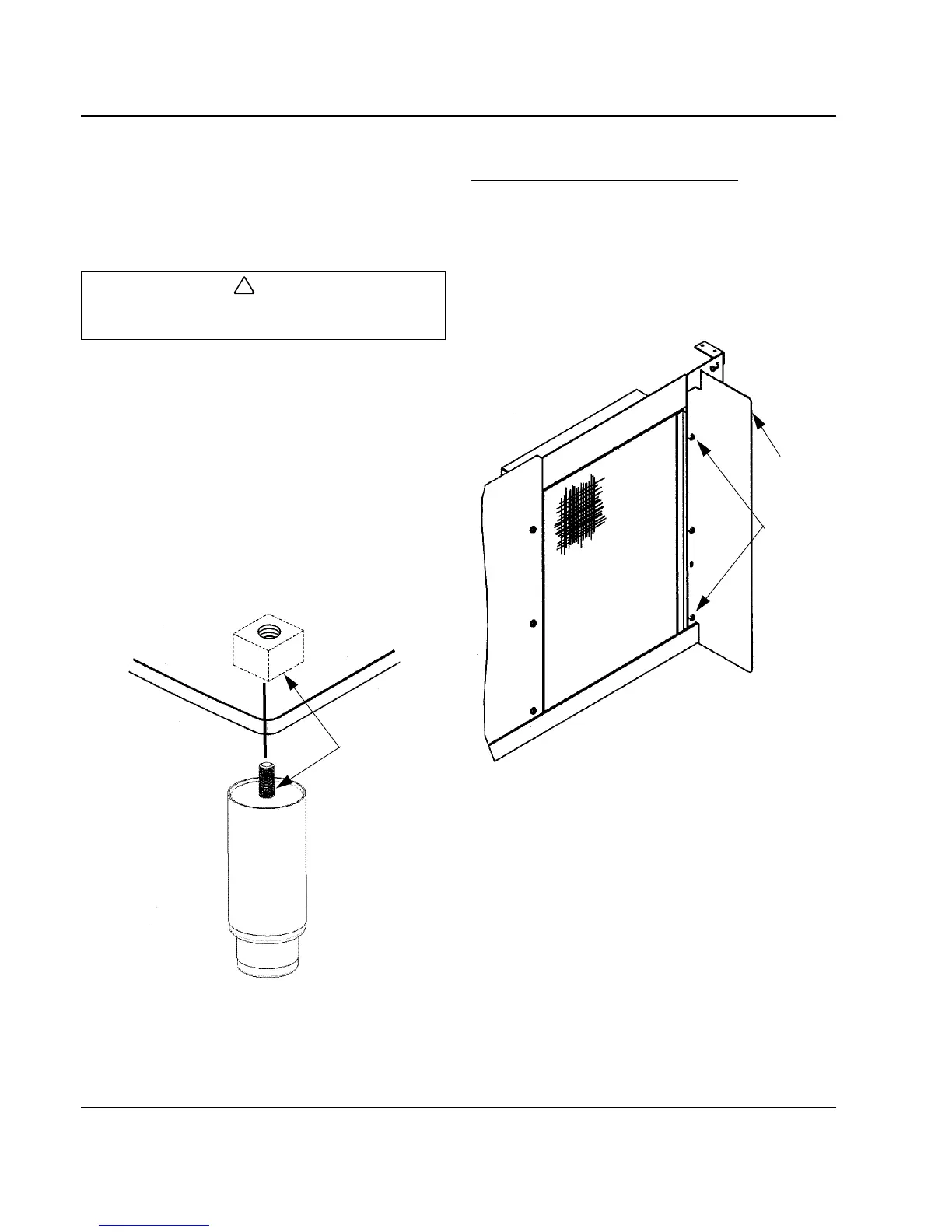
1. Remove threaded plug from drain fitting.
2. Screw the leveling legs onto the bottom of the bin.
3. Screw the foot of each leg in as far as possible.
4. Move the bin into its final position.
5. Level the bin to assure that the bin door closes and
seals properly. Use a level on top of the bin. Turn the
base of each foot as necessary to level the bin.
6. Inspect bin gasket prior to ice machine installation.
(Manitowoc bins come with a closed cell foam
gasket installed along the top surface of the bin.)
7. Remove all panels from ice machine before lifting.
Remove both front panels, top cover, left and right
side panels.
8. Install ice machine on bin.
Leveling Leg and Foot
Air-Cooled Baffle
SELF-CONTAINED AIR-COOLED ONLY
The air-cooled baffle prevents condenser air from
recirculating. To install:
1. Remove the back panel screws next to the
condenser.
2. Align the mounting holes in the air baffle with the
screw holes and reinstall the screws.
Air Baffle
!
Caution
The legs must be screwed in tightly to prevent them
from bending.
SV1606
THREAD LEVELING
LEG INTO BASE OF
CABINET
SV1607
AIR
BAFFLE
SCREWS

Table of Contents

Related product manuals