EasyManua.ls Logo

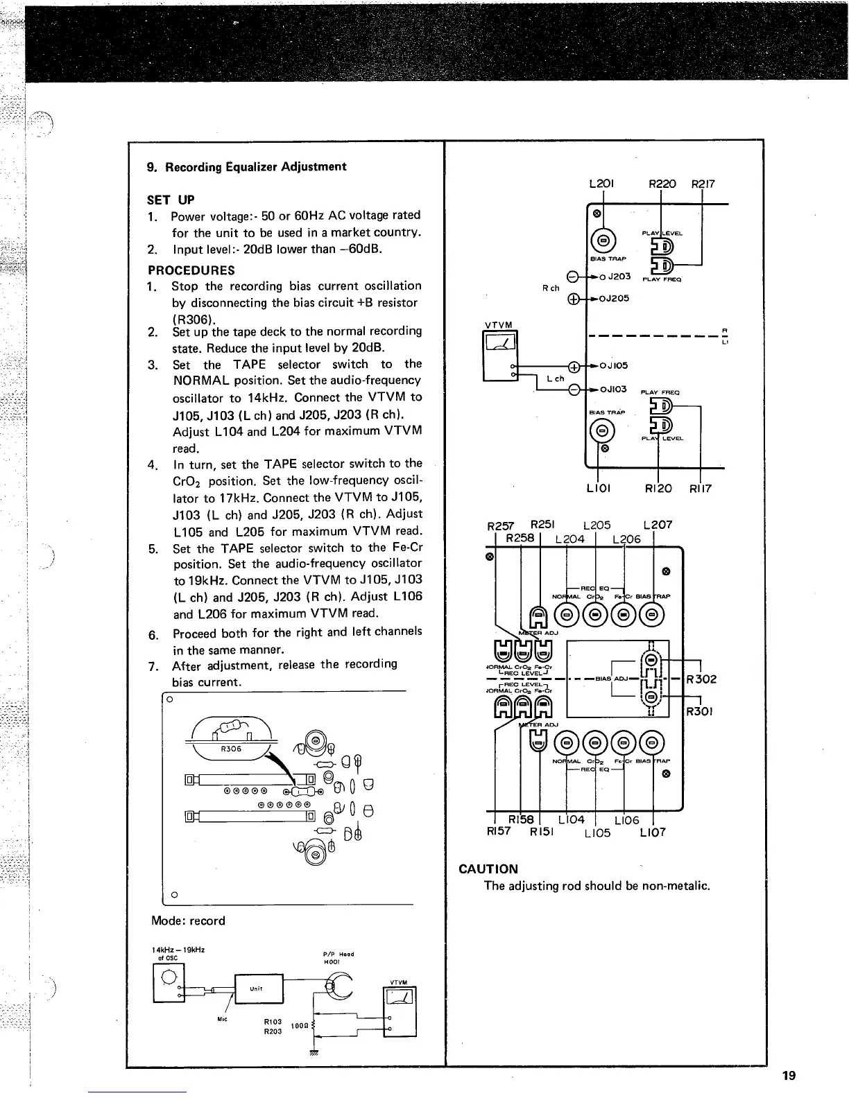
Marantz 5020 - Recording Equalizer Adjustment; Recording Equalizer Setup & Procedure

Marantz 5020
58 pages
Print Icon
To Next Page IconTo Next Page
To Next Page IconTo Next Page
To Previous Page IconTo Previous Page
To Previous Page IconTo Previous Page
Loading...

Table of Contents

Related product manuals