EasyManua.ls Logo

Marantz Sm-10 - Page 20

Marantz Sm-10
24 pages
Print Icon
To Next Page IconTo Next Page
To Next Page IconTo Next Page
To Previous Page IconTo Previous Page
To Previous Page IconTo Previous Page
Loading...
ewok
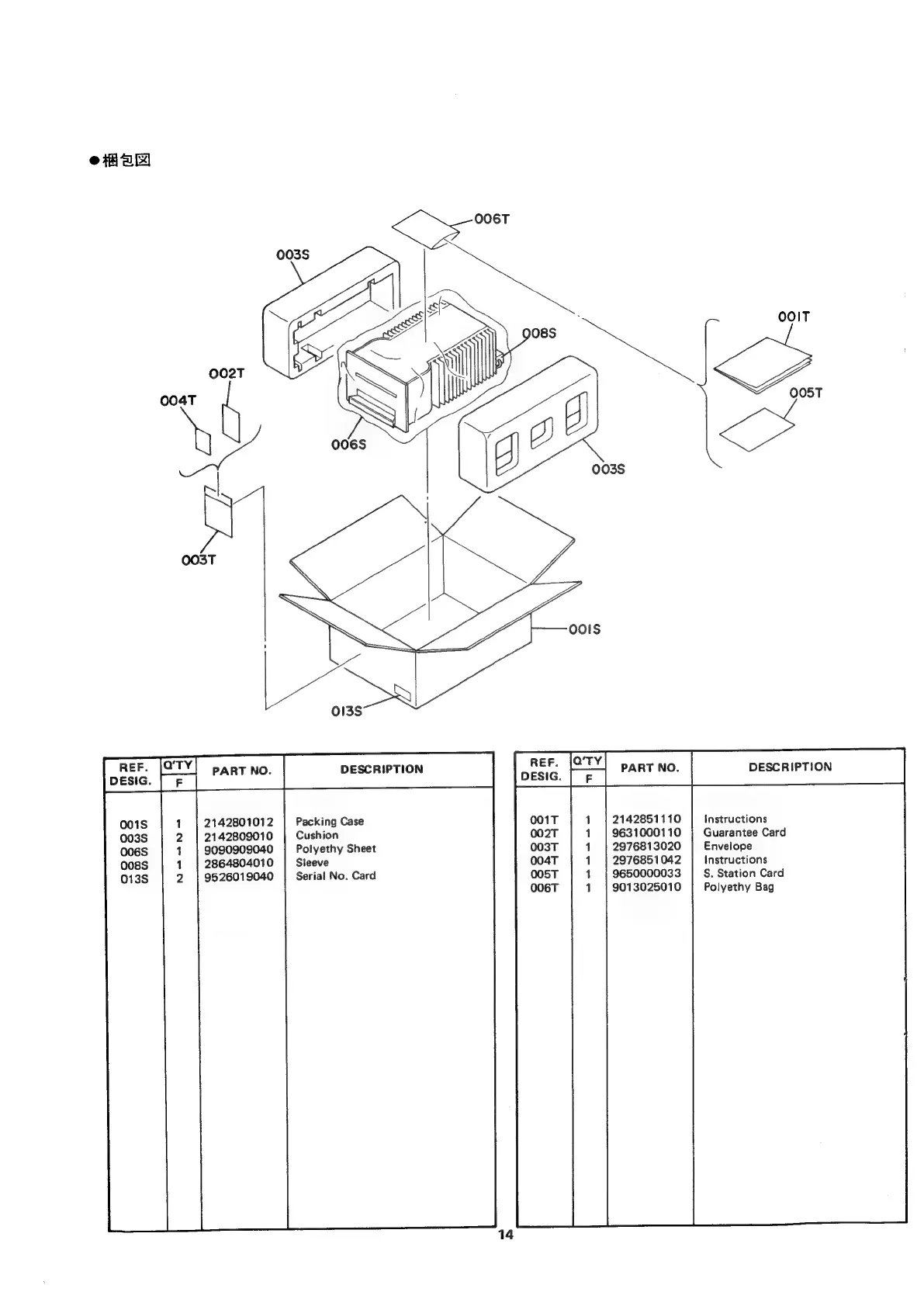
2142801012
2142809010
9090909040
2864804010
9526019040
013S
Packing
Case
Cushion
Polyethy
Sheet
Sleeve
Serial
No.
Card
oss
OOoIs
2142851110
9631000110
2976813020
2976851042
9650000033
9013025010
OOIT
OO5T
DESCRIPTION
Instructions
Guarantee
Card
Envelope
Instructions
S.
Station
Card
Polyethy
Bag

Related product manuals