EasyManua.ls Logo

Marmitek Buzz LO - Page 19

Marmitek Buzz LO
20 pages
Print Icon
To Next Page IconTo Next Page
To Next Page IconTo Next Page
To Previous Page IconTo Previous Page
To Previous Page IconTo Previous Page
Loading...
Buzz LO
TM
and Bell ME
TM
19
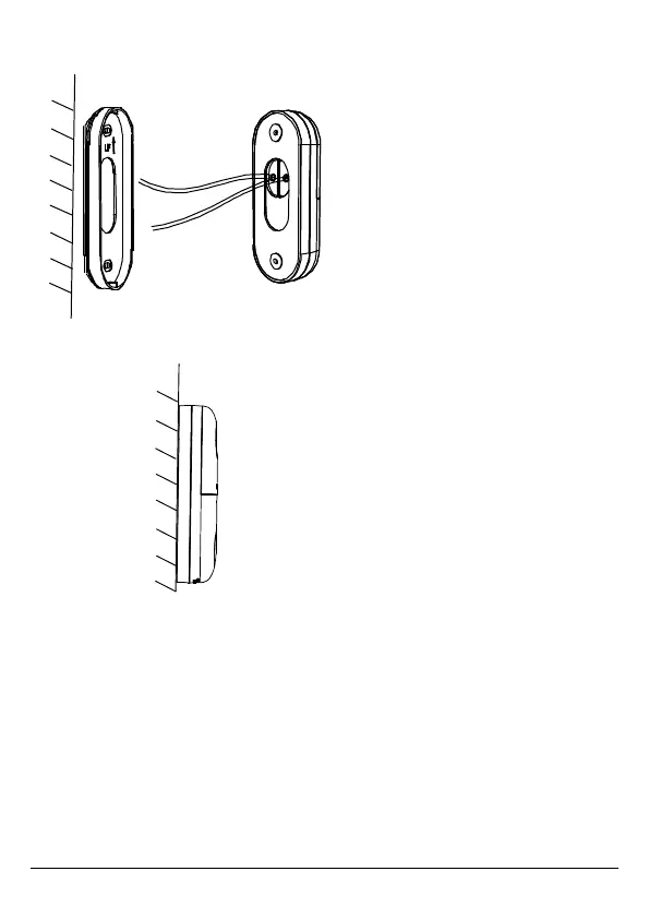
(EN) Connect the wires (8~16 VAC) by screwing
both to the back of the Buzz LO, the order does
not matter.
(NL) Sluit de draden (8~16 VAC) aan door beide
vast te schroeven op de achterzijde van de Buzz
LO, de volgorde maakt niet uit.
(DE) Schließen Sie die Drähte (8 ~ 16 VAC) an,
indem Sie beide auf die Rückseite des Buzz LO
schrauben. Die Reihenfolge spielt keine Rolle.
(FR) Connectez les fils (8 ~ 16 VAC) en les
vissant tous les deux à la face arrière de la Buzz
LO, l'ordre n'a pas d'importance.
(ES) Conectar los cables (8~16 VAC),
atornillándolos en la parte trasera del Buzz LO,
en cualquier orden
(IT) Collegare i fili (8 ~ 16 VAC) avvitando
entrambi sul retro di Buzz LO, l'ordine non ha
importanza.
(EN) Place the Buzz LO into the bracket and fix
the doorbell with supplied bolt.
(NL) Plaats de Buzz LO in de montageplaat en
zet de Buzz LO vast met het bijgeleverde boutje.
(DE) Setzen Sie den Buzz LO in die
Montageplatte ein und sichern Sie den Buzz LO
mit der enthaltenen Schraube.
(FR) Placez la Buzz LO dans la plaque de
montage et fixez la Buzz LO avec le boulon
fourni.
(ES) Colocar el Buzz LO en la placa de montaje
y fijar el Buzz LO con la tuerca suministrada
(IT) Posizionare Buzz LO nella piastra di
montaggio e fissare Buzz LO con il bullone in
dotazione.

Related product manuals