EasyManua.ls Logo

Master audio X208 - Page 13

Default Icon
48 pages
Print Icon
To Next Page IconTo Next Page
To Next Page IconTo Next Page
To Previous Page IconTo Previous Page
To Previous Page IconTo Previous Page
Loading...
Master Audio
Xcellence Line Array Series 208.Ver 1.2 Sep 12
13
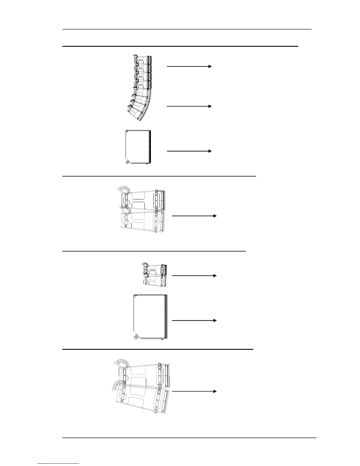
10) 4 x X-208 FLAT + 4 x X-208 MAXIMUM CURVED 5º- 10º with subwoofers
P8 [8FLAT_SW]
P12 [8ARC+_SW]
[LPF90/LPF110/etc..
]
11) 2 x X-208 STANDARD CURVED 0º- 5º without subwoofers
P13 [2ARC-_FR]
12) 2 x X-208 STANDARD CURVED 0º- 5º with subwoofers
P14 [2ARC-_SW]
[LPF90/LPF110/etc..]
13) 2 x X-208 MAXIMUM CURVED 6º- 10º without subwoofers
P15 [2ARC+_FR]

Related product manuals