EasyManua.ls Logo

Mastervolt IVO Smart 12/35-3

Mastervolt IVO Smart 12/35-3
20 pages
Go to English
To Next Page IconTo Next Page
To Next Page IconTo Next Page
To Previous Page IconTo Previous Page
To Previous Page IconTo Previous Page
Loading...
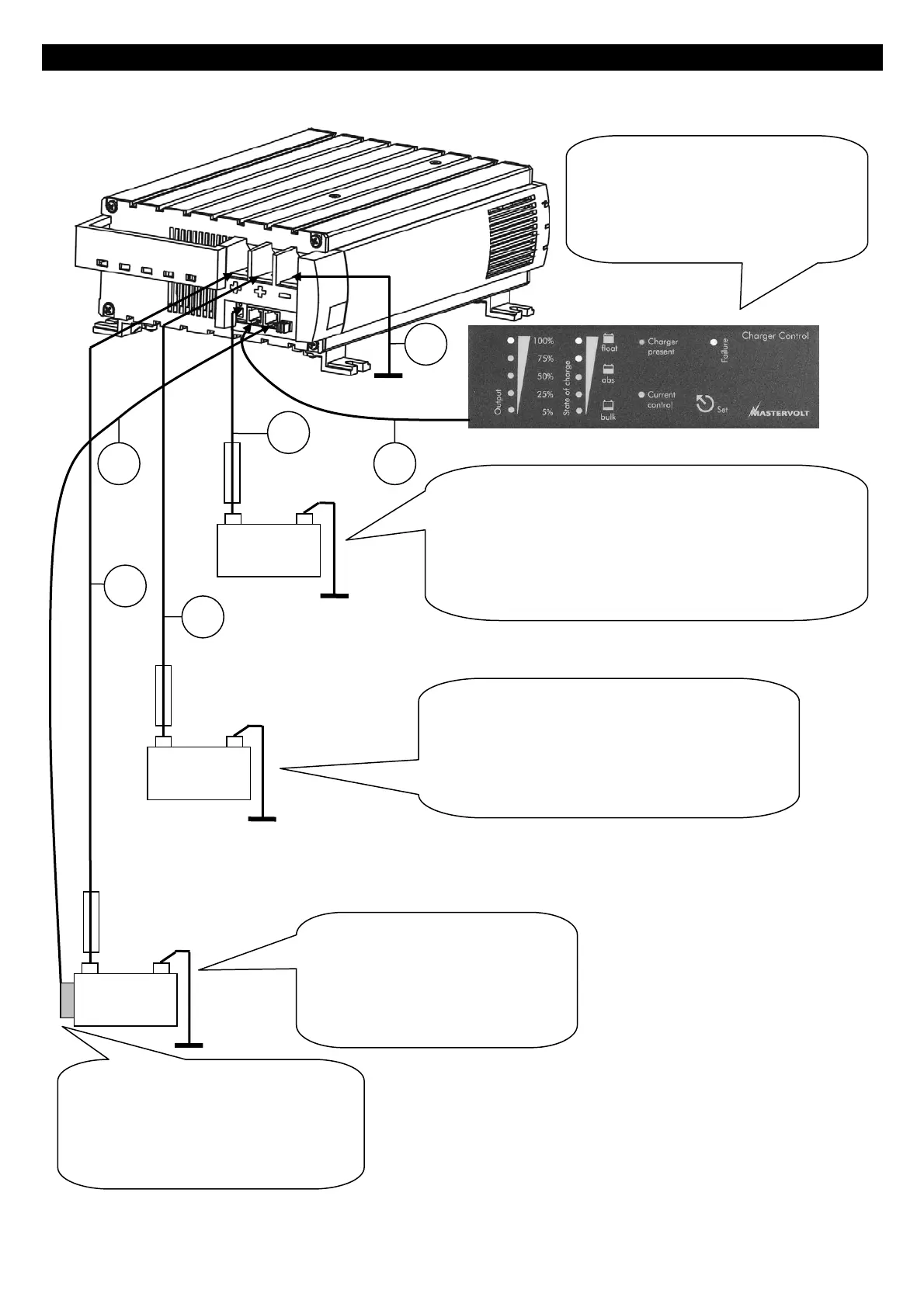
INSTALLATION : BATTERY CHARGER
Figure 3: Installation
+ –
12V/24V
+ –
12V/24V
+ –
12V/24V
-Main battery set.
-Hoofd accuset.
-Hauptbatterie-Set
-Groupe principal de batteries
-
Batteria principale
-
Juego de batería principal
-Optional CC remote panel
-Slave charger output. (e.g. starter battery)
-“Slave” lader uitgang. (Bijv. startaccu)
-“Slave”-Ladeausgang (z.B. Starterbatterie)
-Sortie chargeur auxiliaire (batterie de démarrage, par ex.)
- Uscita caricabatterie slave (ad esempio, batteria di un
motorino d’avviamento
- Salida del cargador “esclava” (por ej, batería de arranque)
-Optioneel CC bedieningspaneel
-Optionale CC-Fernbedienung
-Tableau de télécommande CC optionnel
- Pannello remoto CC opzionale
- Panel remoto opcional de CC
-Battery temperature sensor.
-Accu temperatuursensor.
-Batterietemperatur-Sensor
-Sonde de température batterie
-
Sensore di temperatura batteria
-
Sensor de temperatura de la batería
-Second main battery set.
-Tweede hoofd accuset.
-Zweites Hauptbatterie-Set.
-Deuxième groupe principal de batteries.
-
Seconda batteria principale.
-
Segundo juego de batería principal.
2
3
4
6
7
5

Related product manuals