EasyManua.ls Logo

Matrix Amplification GT Series - Basic Schematics

Matrix Amplification GT Series
17 pages
Print Icon
To Next Page IconTo Next Page
To Next Page IconTo Next Page
To Previous Page IconTo Previous Page
To Previous Page IconTo Previous Page
Loading...
GT SERIES USER MANUAL 4
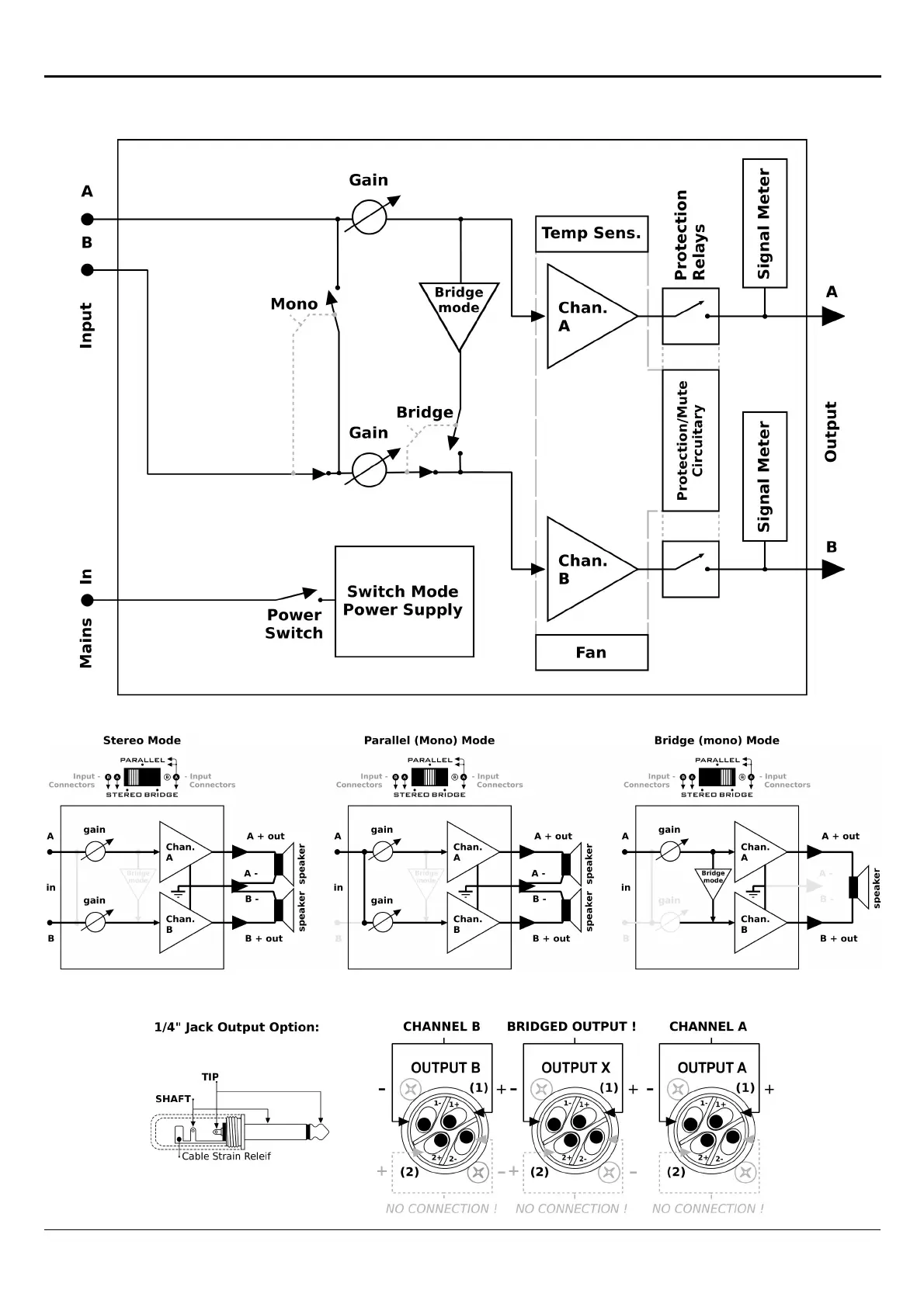
2.2 Basic Schematics.
Modes:
Output Connections:
MATRIX AMPLIFICATION REV.1.17